LEMON Manuals
: Even more car manuals for everyone: 1960-2025
Home
>>
Mazda
>>
2004
>>
MPV LX
>>
Repair and Diagnosis
>>
Brakes
>>
Traction Control
>>
Antilock Brake System
>>
Abs HU/Cm Inspection
>>
Inspection Using An Oscilloscope (Reference)
>>
Torque down request
April 5, 2026:
LEMON Manuals is launched!
Read the announcement.
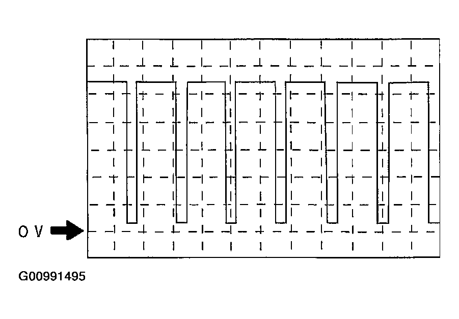
Torque down request
ABS HU/CM terminal: R (+) - AA(-)
Oscilloscope setting: 1 V/DIV (Y), 5 ms/DIV (X)
Vehicle condition: Idle after warm-up (Engine speed at approximately 650 rpm)
Fig 1: Inspecting Torque Down Request Using Oscilloscope
Courtesy of MAZDA MOTORS CORP.