LEMON Manuals: Even more car manuals for everyone: 1960-2025
Home >> Mazda >> 2004 >> MX-5 Miata Base, Standard >> Repair and Diagnosis >> Engine Performance >> System >> On-Board Diagnostic (Engine Control System BP, BP With TC] >> DTC P0107: [BP, BP With TC] BARO Circuit Low Input (BP); BARO/Map Circuit Low Input (BP With TC) >> Notes
April 5, 2026: LEMON Manuals is launched! Read the announcement.

DTC P0107: [BP, BP With TC] BARO Circuit Low Input (BP); BARO/Map Circuit Low Input (BP With TC): Notes

Fig 1: Possible Causes - DTC P0107 [BP, BP With TC]
G00989223Courtesy of MAZDA MOTORS CORP.
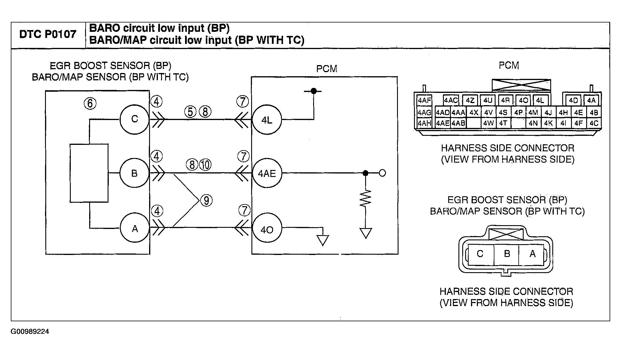
Fig 2: Circuit Diagram - DTC P0107 [BP, BP With TC]
G00989224Courtesy of MAZDA MOTORS CORP.