California Emission Regulation Applicable Models.
- Wait for 5 minutes until security light flashes slowly. (300 ms ON- 300 ms OFF --> 1.2 s ON- 1.2 s OFF)
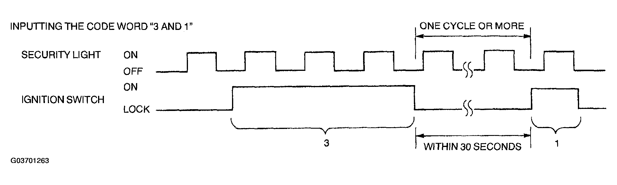
- Input the code word as shown in the example below.
- Turn ignition switch to ON position while security light is off and count three illumination cycles. As the light goes out after the third illumination, turn key to LOCK position.
- Wait at least one illumination cycle and within 30 seconds of going to LOCK position, turn ignition switch to ON position while security light is off and count one illumination cycle. As the light goes out after the first illumination, turn key to LOCK position.
- Repeat Step 2 for rest of six digits.
- When code word is registered correctly in the PCM, the security light stops flashing and illuminates.
- As soon as the security light stops flashing and illuminates, the following immobilizer system reprogram procedure should be started.NOTE:
- If the code word is not input correctly, the security light goes out after all eight digits are input. In this case, perform the CODE WORD INPUT ERROR RECOVERY PROCEDURE .
Examples of incorrect input of code word
NOTE:
- The security light must flash one or more times between the digits of the code word.
- If the code word is input incorrectly, the security light goes out. Remove and insert key five times and repeat the procedure to input all eight figures for the code word.
- When an error occurs during the reprogram procedures except when both the immobilizer unit and PCM are replaced, repeat the procedure from Step 1. If you still cannot reprogram, confirm how many keys can start the engine. Then, perform the key replacement or addition reprogram procedure according to the valid key number.
- The security light flashes ten or more times while the ignition switch is at ON position.
- The ignition switch is turned to ON position and LOCK position while the security light is off.
- The ignition switch is turned to LOCK position and ON position while the security light is on.
- The ignition switch is turned to LOCK position and ON position while the security light is off.
- An unmatched code word is input to the immobilizer unit.