LEMON Manuals: Even more car manuals for everyone: 1960-2025
Home >> Mazda >> 2005 >> MPV ES >> Repair and Diagnosis >> Body & Frame >> Door Locks >> Security System And Locks System >> Code Word Input Procedure >> Federal Emission Regulation Applicable Models.
April 5, 2026: LEMON Manuals is launched! Read the announcement.

Federal Emission Regulation Applicable Models.

  1. Wait for 5 minutes until security light flashes slowly. (300 ms  ON- 300 ms  OFF - 1.2 s  ON- 1.2 s  OFF)
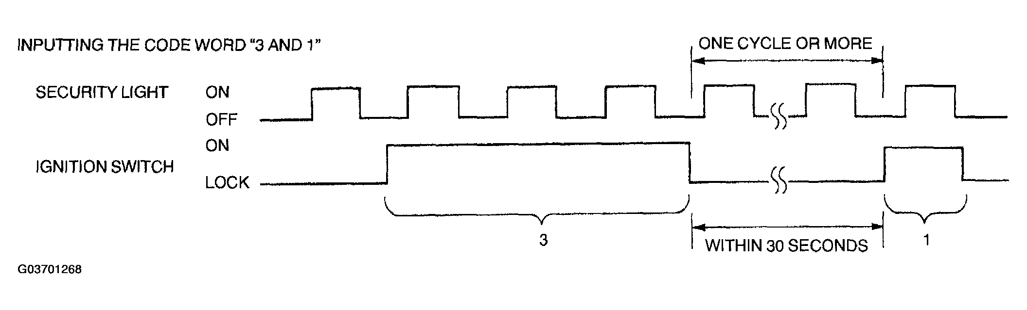
  2. Input the code word as shown in the example below.
    Fig 1: Security Light Blinking Pattern - 3 And 1 Pattern
    G03701268Courtesy of MAZDA MOTORS CORP.
    1. Turn ignition switch to ON position while security light is off and count three illumination cycles. As the light goes out after the third illumination, turn key to LOCK position.
    2. Wait at least one illumination cycle and within 30 seconds  of going to LOCK position, turn ignition switch to ON position while security light is off and count one illumination cycle. As the light goes out after the first illumination, turn key to LOCK position.
    3. Repeat Step  2 for rest of six digits.
  3. When code word is registered correctly in the PCM, the security light stops flashing and illuminates.
  4. As soon as the security light stops flashing and illuminates, the following immobilizer system reprogram procedure should be started.
    NOTE:

Examples of incorrect input of code word 

NOTE:
  • The security light must flash one or more times between the digits of the code word.
  • If the code word is input incorrectly, the security light goes out. Turn the ignition switch to ON position then back to LOCK position five times  (except PCM replacement) or six times  (PCM replacement) and repeat the procedure to input all eight figures for the code word.
  • When an error occurs during the reprogram procedures except when both the immobilizer unit and PCM are replaced, repeat the procedure from Step  1. If you still cannot reprogram, confirm how many keys can start the engine. Then, perform the key replacement or addition reprogram procedure according to the valid key number.

Code word input error recovery procedure 

  1. Turn ignition switch to ON position then back to LOCK position five times  (except PCM replacement) or six times  (PCM replacement). The key should not remain at ON position or LOCK position for more than 1 second.
  2. Repeat the "CODE WORD INPUT PROCEDURE."