LEMON Manuals: Even more car manuals for everyone: 1960-2025
Home >> Mazda >> 2006 >> 6 Mazdaspeed >> Repair and Diagnosis >> Engine Performance >> System >> On-Board Diagnostic [Engine Control System L3 With TC) >> DTC P0134 >> Notes
April 5, 2026: LEMON Manuals is launched! Read the announcement.

DTC P0134: Notes

DTC P0134 DETECTION CONDITION AND POSSIBLE CAUSES

DTC P0134 Front HO2S no activity detected
DETECTION CONDITION 
  • The PCM monitors the input voltage from the HO2S when the following conditions are met. If under the following monitoring conditions, the input voltage more than 3.22 V  , the PCM determines that the front HO2S is not activated.

    MONITORING CONDITIONS 

    • HO2S, HO2S heater and TWC Repair Verification Drive Mode
    • The following conditions are met
      • Front HO2S heater is tuned on for above 30 s 
      • Battery voltage: 10-18 V 

Diagnostic support note 
  • This is an intermittent monitor (HO2S).
  • The MIL illuminates if the PCM detects the above malfunction condition in two consecutive drive cycles or in one drive cycle while the DTC for the same malfunction has been stored in the PCM.
  • PENDING CODE is available if the PCM detects the above malfunction condition during first drive cycle.
  • FREEZE FRAME DATA is available.
  • DTCs are stored in the PCM memory.
POSSIBLE CAUSE 
  • Front HO2S deterioration
  • Front HO2S heater malfunction
  • Leakage exhaust system
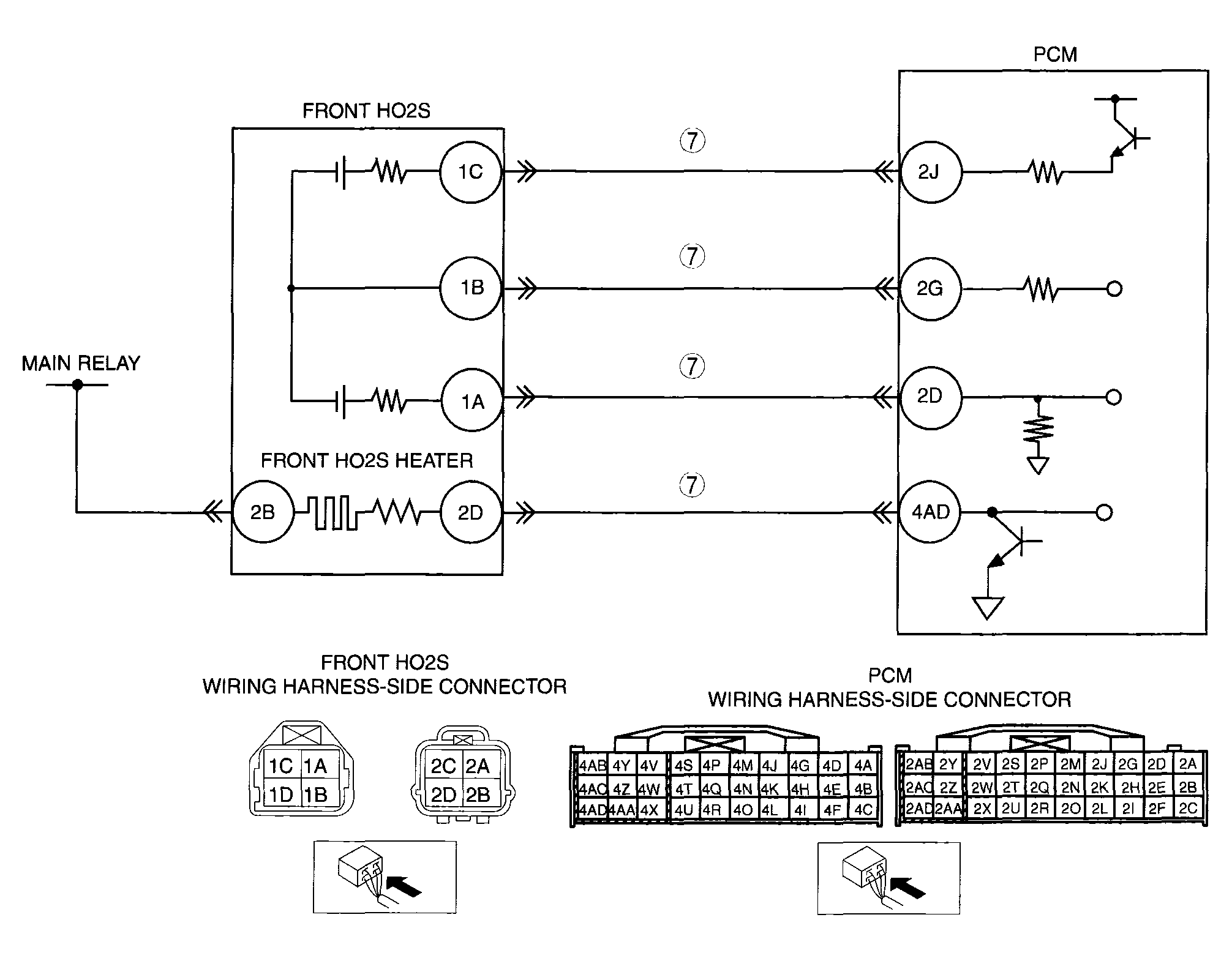
  • Open or short circuit in the wiring harness between front HO2S terminal 2D and PCM terminal 4AD
  • Open or short circuit in the wiring harness between front HO2S terminal 1C and PCM terminal 2J
  • Open or short circuit in the wiring harness between front HO2S terminal 1B and PCM terminal 2G
  • Open or short circuit in the wiring harness between front HO2S terminal 1A and PCM terminal 2D
  • Insufficient compression
  • Engine malfunction
G04324105Courtesy of MAZDA MOTORS CORP.