LEMON Manuals: Even more car manuals for everyone: 1960-2025
Home >> Mazda >> 2007 >> 6 V6-3.0L >> Repair and Diagnosis >> Specifications >> Mechanical Specifications >> Engine >> Intake Manifold
April 5, 2026: LEMON Manuals is launched! Read the announcement.

Intake Manifold

INTAKE AIR SYSTEM [AJ]


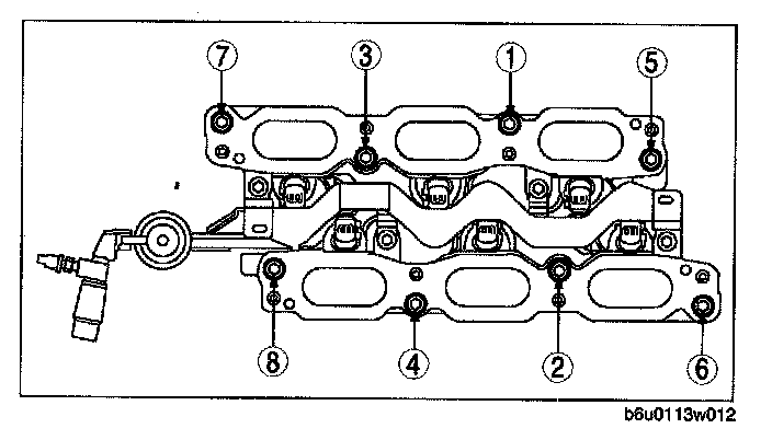
Intake Manifold Installation Note




1. Tighten the intake manifold installation bolts in the order indicated.

Tightening torque
6 - 12 Nm {82 - 122 kgf-cm, 72 - 106 in-lbf}


Dynamic Chamber Installation Note




1. Tighten the dynamic chamber installation bolts in the order indicated.

Tightening torque
6 - 12 Nm (82 - 122 kgf-cm, 72 - 106 in-lbf}