LEMON Manuals: Even more car manuals for everyone: 1960-2025
Home >> Mazda >> 2007 >> B2300 L4-2.3L >> Repair and Diagnosis >> Testing and Inspection
April 5, 2026: LEMON Manuals is launched! Read the announcement.

Repair and Diagnosis: Testing and Inspection

COMMUNICATIONS NETWORK
Vehicle communication utilizes both International Standards Organization (ISO) 9141 and controller area net-work (CAN) communications. ISO 9141 is used for diagnostic use only, and CAN is used for many modules to communicate with each other on a common network. CAN in-vehicle networking, is a method for transferring data among distributed electronic modules via a serial data bus. Without serial networking, intermodule communication requires dedicated, point to point wiring resulting in bulky, expensive, complex, and difficult to install wiring harnesses. Applying a serial data network reduces the number of wires combining the signals on a single network. Information is sent to individual control modules that control each function.

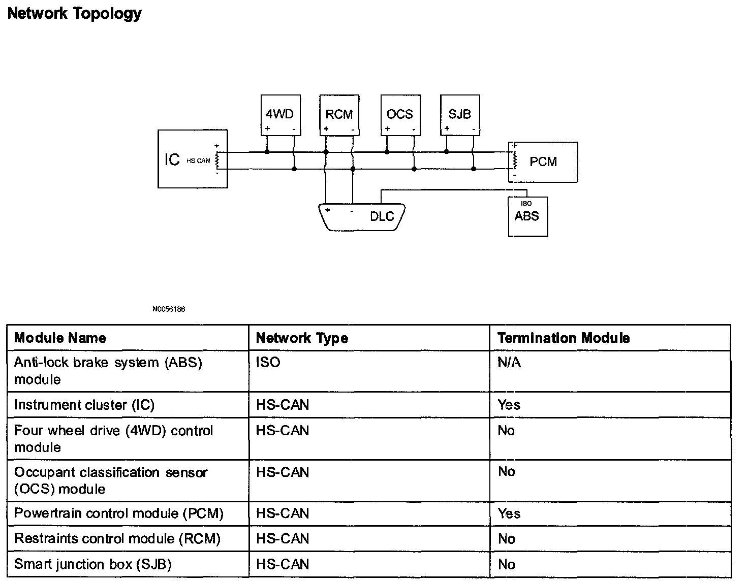
Network Topology:




The vehicle has 2 module communication networks.
- ISO 9141
- High speed (HS) CAN

Both networks are connected to the data link connector (DLC). This makes diagnosis and testing of these systems easier by allowing one scan tool to be able to diagnose and control any module on both networks from one connector. The DLC can be found under the instrument panel.

ISO 9141 Network Operation
The ISO 9141 communications network is a single wire network. The ISO 9141 communication network is used only by the ABS module.

HS-CAN Network operation
The HS-CAN network communicates using bussed messages. The HS-CAN network uses an unshielded twisted pair cable, data bus (+) and data bus (-) circuits. In addition to scan tool communication, this network allows sharing of information between all modules on the network.

The HS-CAN is a high speed communication network used for the following modules.
- PCM
- RCM
- SJB
- 4WD control module
- Occupant classification sensor module
- Instrument cluster

Network Termination
The CAN network uses a network termination circuit to improve communication reliability. The network termination of the CAN bus takes place inside the termination modules by termination resistors. Termination modules are located at either end of the bus network. As network messages are broadcast, in the form of voltage signals, the network voltage signals are stabilized by the termination resistors. Each termination module has a 120 ohm resistor across the positive and negative bus connection in the termination module. With two termination modules on each network, and the 120 ohm resistors located in a parallel circuit configuration, the total network impedance, or total resistance is 60 ohms.

Network termination improves bus message reliability by.
- stabilizing bus voltage.
- eliminating electrical interference.

Principles of Operation
Vehicle communication utilizes both International Standards Organization (ISO) 9141 and controller area net-work (CAN) communications. ISO 9141 is used for diagnostic use only, and CAN is a method for transferring data among distributed electronic modules via a serial data bus.

The vehicle is equipped with 2 communication networks.
- ISO 9141
- High speed (HS) CAN

ISO 9141 Communications Network
The ISO 9141 communications network is a single wire network. The ISO 9141 communications network does not permit intermodule communication. When the IDS or equivalent tester communicates to modules on the ISO 9141 communication network, the IDS or equivalent tester must request all information; the modules cannot initiate communications.

The following fault chart describes the specific ISO 9141 network failures and their resulting symptom.

ISO 9141 Network Communication Fault Chart:





HS-CAN
The HS-CAN network uses an unshielded twisted pair cable of data (+) and data (-) circuit. The data (+) and the data (-) circuits are each regulated to approximately 2.5 volts during neutral or rested network traffic. As bus messages are sent on the data (+) circuit, voltage is increased by approximately 1.0 volt. Inversely, the data (-) circuit is reduced by approximately 1.0 volt when a bus message is sent. Multiple bus messages can be sent over the network CAN circuits allowing multiple modules to communicate with each other. The HS-CAN is a high speed communication network used for the instrument cluster, the powertrain control module (PCM), the four wheel drive (4WD) Control module, the restraints control module (RCM), and the occupant classification sensor module communications, and designed for real time information transfer and control. The HS-CAN network will not communicate while certain faults are present, but will operate with diminished performance with other faults present. The HS-CAN bus may remain operational when 1 of the 2 termination resistors are not present.

The following fault chart describes the specific HS-CAN network failures and their resulting symptom.

HS-CAN Network Communication Fault Chart:




CAN Network Module Communication Message Chart: