LEMON Manuals: Even more car manuals for everyone: 1960-2025
Home >> Mazda >> 2007 >> CX-7 L4-2.3L Turbo >> Repair and Diagnosis >> Accessories and Optional Equipment >> Navigation System >> Navigation Module >> Service and Repair
April 5, 2026: LEMON Manuals is launched! Read the announcement.

Navigation Module: Service and Repair

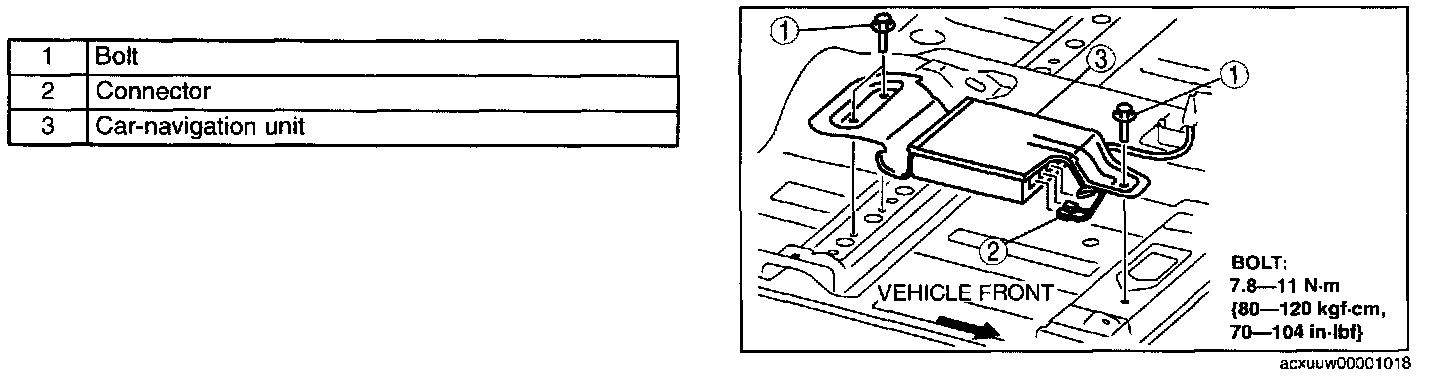
CAR-NAVIGATION UNIT REMOVAL/INSTALLATION

NOTE: Car-navigation unit is located under the front seat (passenger's side).

1. Disconnect the negative battery cable.
2. Remove the seat belt anchor, (passenger's side)
3. Remove the front seat, (passenger's side)




4. Remove in the order indicated in the table.
5. Install in the reverse order of removal.