LEMON Manuals: Even more car manuals for everyone: 1960-2025
Home >> Mazda >> 2008 >> 5 L4-2.3L >> Repair and Diagnosis >> Specifications >> Mechanical Specifications >> Engine >> System Specifications >> General Specifications
April 5, 2026: LEMON Manuals is launched! Read the announcement.

General Specifications

General Specifications

General Specifications (Part 1):




General Specifications (Part 2):





Idle speed: MTX

Idle speed: MTX:





Idle speed: ATX

Idle speed: ATX:





Cylinder Head

Measure the length of each cylinder head bolt.
^ Replace any that exceeds maximum length.





Cylinder Head Bolt Length L
145.2-145.8 mm (5.717-5.740 in)

Cylinder Head Bolt Maximum
146.5 mm (5.768 in)

Tighten the cylinder head bolts in the order shown with the following 5 steps using the SST (49 D032 316).





Tightening torque
1. 3.0-11.0 N-m (30.6-112.1 kgf-cm, 26.6-97.3 in-lbf)
2. 13-17 N-m (1.4-1.7 kgf-m, 9.6-12.5 ft-lbf)
3. 43-47 N-m (4.4-4.7 kgf-m, 31.8-34.6 ft-lbf)
4. 88°-92°
5. 88°-92°

Camshaft Cap bolts
Tighten the camshaft cap bolts in the order shown with the following two steps.





Tighten torque
1. 5.0-9.0 N-m (51-91 kgf-cm, 44.3-79.6 in-lbf)
2. 14-17 N-m (1.5-1.7 kgf-m, 10.4-12.5 ft-lbf)

Crankshaft Pulley
Tighten the crankshaft pulley lock bolt in the order shown.
Tightening torque
1. 96-104 N-m (9.8-10.6 kgf-m, 70.9-76.7 ft-lbf)
2. 87°-93°

Oil Pump bolts
Tighten the oil pump bolts in two steps in the order indicated in the figure.





Tightening torque:
1. 8-12 N-m (82-122 kgf-cm, 71-105 in-lbf)
2. 17-23 N-m (1.8-2.3 kgf-m, 12.6-16.9 ft-lbf)

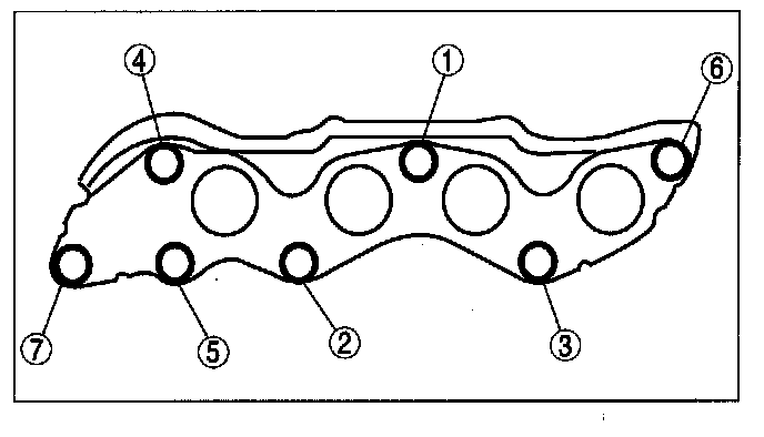
Exhaust Manifold
Tighten the exhaust manifold installation nuts in the order shown in the figure.





Tighten to 43-64 N-m (4.4-6.5 kgf-m, 32-47 ft-lbf)

Water Pump
Tighten to 8.0-11.5 N-m (82-117 kgf-cm, 71-101 in-lbf)