LEMON Manuals: Even more car manuals for everyone: 1960-2025
Home >> Mazda >> 2009 >> 3 Mazdaspeed, 2.3 L >> Repair and Diagnosis >> Engine Performance >> Engine Control Systems >> Engine Control System (L3 With TC) >> Pcm Removal/Installation [L3 With TC] >> Notes
April 5, 2026: LEMON Manuals is launched! Read the announcement.

Pcm Removal/Installation [L3 With TC]: Notes

NOTE:
  1. Remove the battery cover.
  2. Disconnect the negative battery cable.
  3. Disconnect the PCM connector.
  4. When replacing the PCM on the vehicles, perform the following.
  5. Install in the reverse order of removal.
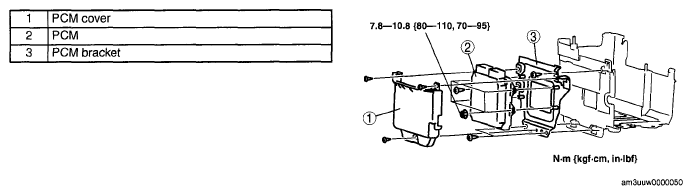
    Fig 1: View Of PCM Components With Torque Specification
    G04955294Courtesy of MAZDA MOTORS CORP.