LEMON Manuals: Even more car manuals for everyone: 1960-2025
Home >> Mazda >> 2009 >> Tribute 2WD L4-2.5L >> Repair and Diagnosis >> Powertrain Management >> Computers and Control Systems >> Data Link Connector >> Testing and Inspection
April 5, 2026: LEMON Manuals is launched! Read the announcement.

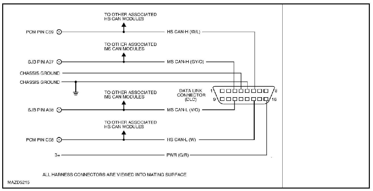
Data Link Connector: Testing and Inspection




DATA LINK CONNECTOR (DLC) MALFUNCTION

Detection Condition/Possible Causes (Part 1):





Detection Condition/Possible Causes (Part 2):






Step 1-Step 4: