LEMON Manuals: Even more car manuals for everyone: 1960-2025
Home >> Mazda >> 2011 >> 3 Mazdaspeed, 2.3 3 >> Repair and Diagnosis >> Engine Performance >> Engine Control Systems >> Engine Control System [L3 With TC] >> Pcm Removal/Installation
April 5, 2026: LEMON Manuals is launched! Read the announcement.

Pcm Removal/Installation

  1. Remove the battery cover. (See BATTERY REMOVAL/INSTALLATION [L3 WITH TC] ).
  2. Disconnect the negative battery cable.
  3. Remove the battery and battery tray. (See BATTERY REMOVAL/INSTALLATION [L3 WITH TC] ).
  4. Remove the following items: (See BATTERY REMOVAL/INSTALLATION [L3 WITH TC] ).
    • Battery
    • PCM cover No. 1
  5. Disconnect the PCM connector.
  6. Remove the battery tray and PCM component. (See BATTERY REMOVAL/INSTALLATION [L3 WITH TC] ).
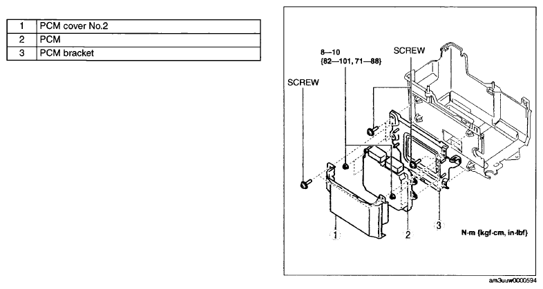
  7. Remove in the order indicated in the table.
    Fig 1: PCM Cover No. 2 And PCM Bracket With Torque Specifications
    G07868438Courtesy of MAZDA MOTORS CORP.
  8. Install in the reverse order of removal.
    CAUTION:
    • If the PCM connector is connected incorrectly it could be damaged. When connecting the PCM connector, connect it using the following procedure.
    • If the PCM connector is inserted at an angle and the lever is moved, the connector could be damaged. Verify that the PCM connector is inserted straight.
      Fig 2: Identifying Proper And Improper Position Of PCM Connector
      G07868439Courtesy of MAZDA MOTORS CORP.
  9. Verify that the PCM connector lever is tilted towards the wiring harness side as shown in the figure.
  10. Insert the PCM connector straight until it contacts the PCM and verify that the lever reverts upward naturally.
    Fig 3: Identifying PCM Connector Lever And Wiring Harness Side
    G07868440Courtesy of MAZDA MOTORS CORP.
  11. Push the lever until a click is heard.
  12. When replacing the PCM on the vehicles, perform the following: