LEMON Manuals: Even more car manuals for everyone: 1960-2025
Home >> Mazda >> 2012 >> 6 s Touring Plus >> Repair and Diagnosis >> Body & Frame >> Ignition Switch/Steering Lock >> Power Systems >> Relay Block Removal/Installation [With Advanced Keyless Entry And Push Button Start System]
April 5, 2026: LEMON Manuals is launched! Read the announcement.

Relay Block Removal/Installation [With Advanced Keyless Entry And Push Button Start System]

  1. Disconnect the negative battery cable.
  2. Remove the lower panel. (See LOWER PANEL REMOVAL/INSTALLATION .)
  3. Remove the knee bolster. (See KNEE BOLSTER REMOVAL/INSTALLATION .)
  4. Remove the wiring harness clip.
    Fig 1: Identifying Wiring Harness Clips
    G08145043Courtesy of MAZDA MOTORS CORP.
  5. Remove the clips.
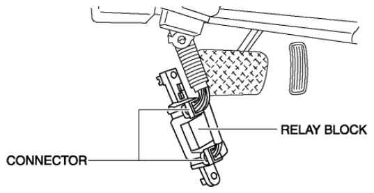
  6. Remove the relay block.
    Fig 2: Identifying Relay Block
    G08145044Courtesy of MAZDA MOTORS CORP.
  7. Disconnect the connectors.
    Fig 3: Identifying Relay Block And Connectors
    G08145045Courtesy of MAZDA MOTORS CORP.
  8. Install in the reverse order of removal.