LEMON Manuals: Even more car manuals for everyone: 1960-2025
Home >> Mazda >> 2017 >> 6 Touring, Automatic Trans >> Repair and Diagnosis (Single Page) >> Accessories & Equipment >> Drivers Assistance Systems - ADAS >> On-Board Diagnostic - Blind Spot Monitoring Control Module >> On-Board Diagnostic Wiring Diagram [Blind Spot Monitoring (BSM) Control Module]
April 5, 2026: LEMON Manuals is launched! Read the announcement.

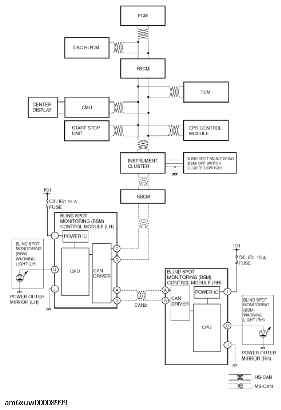
On-Board Diagnostic Wiring Diagram [Blind Spot Monitoring (BSM) Control Module]

Fig 1: On-Board Diagnostic (Blind Spot Monitoring Control Module) Wiring Diagram
G11555397Courtesy of MAZDA MOTORS CORP.