LEMON Manuals: Even more car manuals for everyone: 1960-2025
Home >> Mazda >> 2018 >> CX-3 Touring, AWD >> Repair and Diagnosis >> Engine Performance >> System >> On-Board Diagnostic - Engine Control System - Introduction (1 Of 2) >> OBD-II Drive Mode >> Mode 06 (EVAP System Repair Verification Drive Mode)
April 5, 2026: LEMON Manuals is launched! Read the announcement.

Mode 06 (EVAP System Repair Verification Drive Mode)

NOTE:
  • If "EVAP System Repair Verification Drive Mode" cannot be performed (it is impossible to drive the vehicle under this Drive Mode condition), perform the evaporative system test procedure as an alternative. (See ENGINE CONTROL SYSTEM OPERATION INSPECTION .)
  1. Verify that all of the following PIDs are within the following specifications. All PIDs must be within specifications before the engine is started to initiate the evaporative system test.
    • IAT:5-35 °C {41-95 °F}
    • FLI:15-85 %
    • BARO:Above 72.2 kPa {0.736 kgf/cm2, 10.5 psi}
  2. Start the engine and warm it up completely.
  3. Clear the DTCs from the PCM memory using the M-MDS. (See AFTER REPAIR PROCEDURE .)
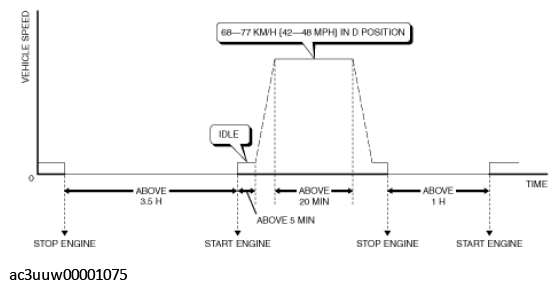
  4. Drive the vehicle as shown in the graph.
    Fig 1: Vehicle Speed Graph (Mode 06)
    G11437402Courtesy of MAZDA MOTORS CORP.
  5. Access the ON BOARD SYSTEM READINESS to verify the OBD monitoring status.
    • If completed, the OBD monitoring status items change from non-completed to completed.
    • If not completed, switch the ignition off then go back to Step  1.
  6. Access the DIAGNOSTIC MONITORING TEST RESULTS to verify the monitor results.
    • If detected values are not within specification, repair has not been completed.
  7. Verify that no DTCs are displayed.