LEMON Manuals: Even more car manuals for everyone: 1960-2025
Home >> Mazda >> 2018 >> CX-9 Signature >> Repair and Diagnosis >> Accessories & Equipment >> Drivers Assistance Systems - ADAS >> On-Board Diagnostic - Blind Spot Monitoring Control Module >> On-Board Diagnostic Wiring Diagram (Blind Spot Monitoring (BSM) Control Module)
April 5, 2026: LEMON Manuals is launched! Read the announcement.

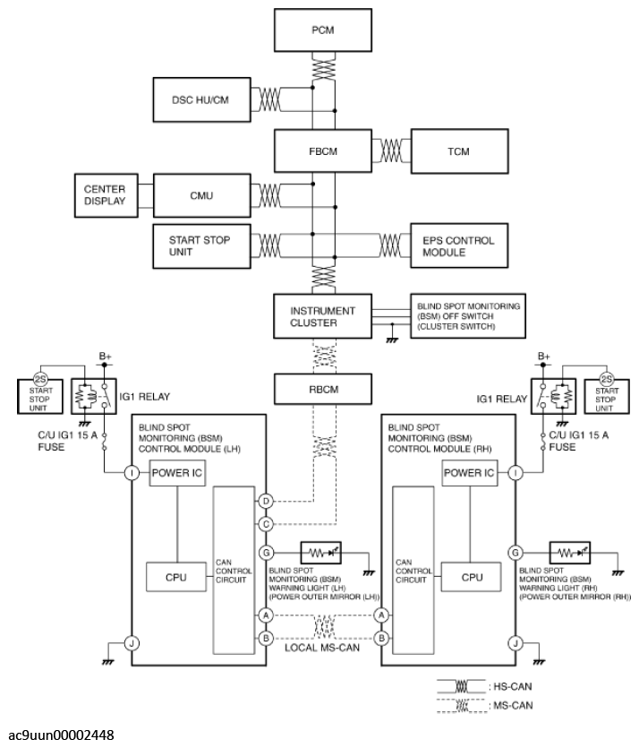
On-Board Diagnostic Wiring Diagram (Blind Spot Monitoring (BSM) Control Module)

Fig 1: Blind Spot Monitoring Wiring Diagram
G11441295Courtesy of MAZDA MOTORS CORP.