LEMON Manuals: Even more car manuals for everyone: 1960-2025
Home >> Mazda >> 2019 >> 6 Signature >> Repair and Diagnosis (Single Page) >> Accessories & Equipment >> Drivers Assistance Systems - ADAS >> On-Board Diagnostics - Blind Spot Monitoring Control Module >> On-Board Diagnostic Wiring Diagram (Blind Spot Monitoring (BSM) Control Module)
April 5, 2026: LEMON Manuals is launched! Read the announcement.

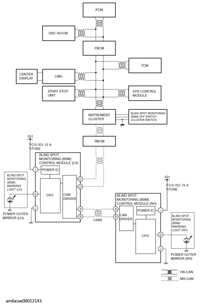
On-Board Diagnostic Wiring Diagram (Blind Spot Monitoring (BSM) Control Module)

Fig 1: On-Board Diagnostic Wiring Diagram - Blind Spot Monitoring Control Module
G12236671Courtesy of MAZDA MOTORS CORP.