LEMON Manuals: Even more car manuals for everyone: 1960-2025
Home >> Mazda >> 2019 >> CX-9 Signature >> Repair and Diagnosis (Single Page) >> Accessories & Equipment >> Communication Devices >> On-Board Diagnostic - Front Body Control Module (FBCM) >> DTC B10AF-12: Blower Relay Circuit Malfunction [Front Body Control Module (FBCM)] >> Notes
April 5, 2026: LEMON Manuals is launched! Read the announcement.

DTC B10AF-12: Blower Relay Circuit Malfunction [Front Body Control Module (FBCM)]: Notes

DTC B10AF:12 [FRONT BODY CONTROL MODULE (FBCM)] DETECTION CONDITION AND POSSIBLE CAUSE

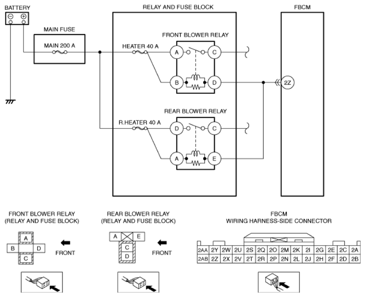
Description Blower relay circuit malfunction
Detection condition
  • Front body control module (FBCM) detects a short to power supply in the blower relay circuit with the ignition switched ON (engine off or on).
Fail-safe Not applicable
Possible cause
  • Front blower relay malfunction
  • Rear blower relay malfunction
  • Front body control module (FBCM) connector or terminal malfunction
  • Short to power supply in wiring harness between the following terminals:
    • Front blower relay terminal D-Front body control module (FBCM) terminal 2Z
    • Rear blower relay terminal E-Front body control module (FBCM) terminal 2Z
  • Front body control module (FBCM) malfunction
G13447285Courtesy of MAZDA MOTORS CORP.