LEMON Manuals: Even more car manuals for everyone: 1960-2025
Home >> Mazda >> 2019 >> CX-9 Signature >> Repair and Diagnosis >> Engine Performance >> System >> On-Board Diagnostic - Engine Control System - Introduction (1 Of 2) >> OBD-II Drive Mode >> Mode 03 (EGR System, Variable Valve Timing, A/F Sensor Heater, HO2S Heater, A/F Sensor, HO2S and TWC Repair Verification Drive Mode)
April 5, 2026: LEMON Manuals is launched! Read the announcement.

Mode 03 (EGR System, Variable Valve Timing, A/F Sensor Heater, HO2S Heater, A/F Sensor, HO2S and TWC Repair Verification Drive Mode)

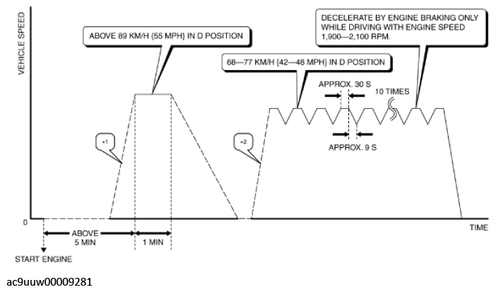
  1. Start the engine and warm it up completely.
  2. Verify all accessory loads (A/C, headlights, blower fan, rear window defogger) are off.
  3. Drive the vehicle as shown in the graph.

    Until 2018MY

    G11433335Courtesy of MAZDA MOTORS CORP.

    From 2019MY

    G12243454Courtesy of MAZDA MOTORS CORP.
  4. To verify the completion of the drive mode, stop the vehicle and display the following menu from the M-MDS initial screen. (See ON-BOARD DIAGNOSTIC TEST .)
    1. Select "Tool Box".
    2. Select "Powertrain".
    3. Select "OBD Test Modes".
    4. Select "Mode 1 Powertrain Data".
    • If the drive mode has been completed, ***_EVAL of the PID ***SUP item indicating Yes changes from No to Yes.
    • If not completed, switch the ignition off, then repeat from Step 3.
  5. Access the DIAGNOSTIC MONITORING TEST RESULTS menu of GENERIC OBD-II FUNCTIONS to verify the monitor results. (See DIAGNOSTIC MONITORING TEST RESULTS .)
    • If detected values are not within specification, repair has not been completed.
  6. Verify that no DTCs are displayed.