LEMON Manuals: Even more car manuals for everyone: 1960-2025
Home >> Mazda >> 2020 >> CX-30 Base, FWD >> Repair and Diagnosis (Single Page) >> Engine Performance >> System >> On-Board Diagnostic - Engine Control System (2 Of 4) >> DTC P061F-00: Internal Control Module Throttle Valve Actuator Controller Performance Problem >> Outline
April 5, 2026: LEMON Manuals is launched! Read the announcement.

DTC P061F-00: Internal Control Module Throttle Valve Actuator Controller Performance Problem: Outline

DTC P061F:00 (PCM, SKYACTIV-G) DETECTION CONDITION AND POSSIBLE CAUSE

System malfunction location Internal control module throttle valve actuator controller performance problem
Detection condition
  • When any of the following conditions is met:
    • LF control unit internal malfunction
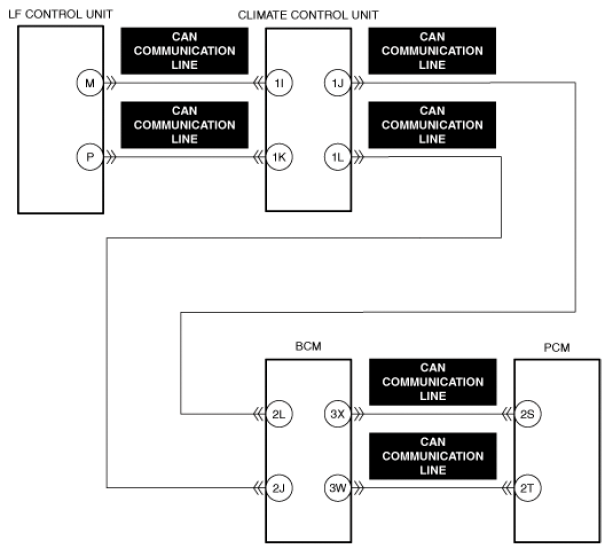
    • CAN communication line malfunction between LF control unit and PCM
      • PCM internal malfunction
Fail-safe
  • Not applicable
Possible cause
  • CAN communication line malfunction between LF control unit and PCM
  • LF control unit connector or terminals malfunction
  • PCM connector or terminals malfunction
  • LF control unit malfunction
  • PCM malfunction
G13556188G13556189Courtesy of MAZDA MOTORS CORP.MAZDA MOTORS CORP.
G13556188G13556189Courtesy of MAZDA MOTORS CORP.MAZDA MOTORS CORP.