LEMON Manuals: Even more car manuals for everyone: 1960-2025
Home >> Mazda >> 2021 >> CX-3 AWD >> Repair and Diagnosis >> Engine Performance >> System >> On-Board Diagnostic - Engine Control - Introduction (1 Of 2) >> OBD-II Drive Mode >> Mode 03 (Variable Valve Timing, A/F Sensor, HO2S and TWC Repair Verification Drive Mode)
April 5, 2026: LEMON Manuals is launched! Read the announcement.

Mode 03 (Variable Valve Timing, A/F Sensor, HO2S and TWC Repair Verification Drive Mode)

  1. Start the engine and warm it up completely.
  2. Verify all accessory loads (A/C, headlights, blower fan, rear window defogger) are off.
  3. Drive the vehicle as shown in the graph.

    Until 2017MY 

    G13148939Courtesy of MAZDA MOTORS CORP.

    *1: Accelerate in D position. (accelerate to 89 km/h {55 mph} within 20 s.) 

    *2: Accelerate in D position. (accelerate to 45 km/h {28 mph} within 15 s.) 

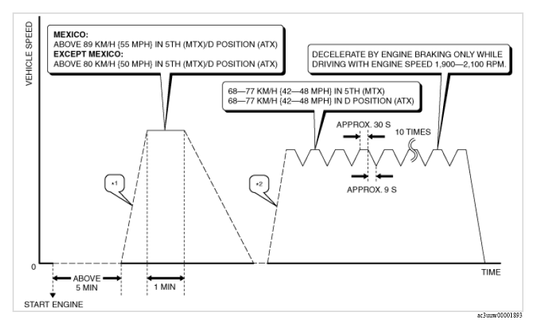
    2018MY 

    G13148940Courtesy of MAZDA MOTORS CORP.

    *1: MTX: accelerate in 5th. (accelerate to 89 km/h {55 mph} within 20 s.)/ATX: accelerate in D position. (accelerate to 89 km/h {55 mph} within 20 s.) 

    *2: MTX: accelerate in 5th. (accelerate to 45 km/h {28 mph} within 15 s, and then accelerate to 68 km/h {42 mph}.)/ATX: accelerate in D position. (accelerate to 45 km/h {28 mph} within 15 s, and then accelerate to 68 km/h {42 mph}.) 

  4. To verify the completion of the drive mode, stop the vehicle and display the following menu from the M-MDS initial screen. (See ON-BOARD DIAGNOSTIC TEST .)
    1. Select "Tool Box".
    2. Select "Powertrain".
    3. Select "OBD Test Modes".
    4. Select "Mode 1 Powertrain Data".
    • If the drive mode has been completed, ***_EVAL of the PID ***SUP item indicating Yes changes from No to Yes.
    • If not completed, switch the ignition off then repeat from Step  3.
  5. Access the DIAGNOSTIC MONITORING TEST RESULTS menu of GENERIC OBD-II FUNCTIONS to verify the monitor results. (See DIAGNOSTIC MONITORING TEST RESULTS .)
    • If detected values are not within specification, repair has not been completed.
  6. Verify that no DTCs are displayed.