LEMON Manuals: Even more car manuals for everyone: 1960-2025
Home >> Mazda >> 2021 >> CX-30 Turbo >> Repair and Diagnosis (Single Page) >> Accessories & Equipment >> Drivers Assistance Systems - ADAS >> On-Board Diagnostic - Vehicle Control Module (2 Of 2) >> DTC U3000-49: Vehicle Control Module (VCM) Internal Malfunction [Vehicle Control Module (Us)] >> Outline
April 5, 2026: LEMON Manuals is launched! Read the announcement.

DTC U3000-49: Vehicle Control Module (VCM) Internal Malfunction [Vehicle Control Module (Us)]: Outline

DTC U3000:49 [VEHICLE CONTROL MODULE (US)] DETECTION CONDITION AND POSSIBLE CAUSE

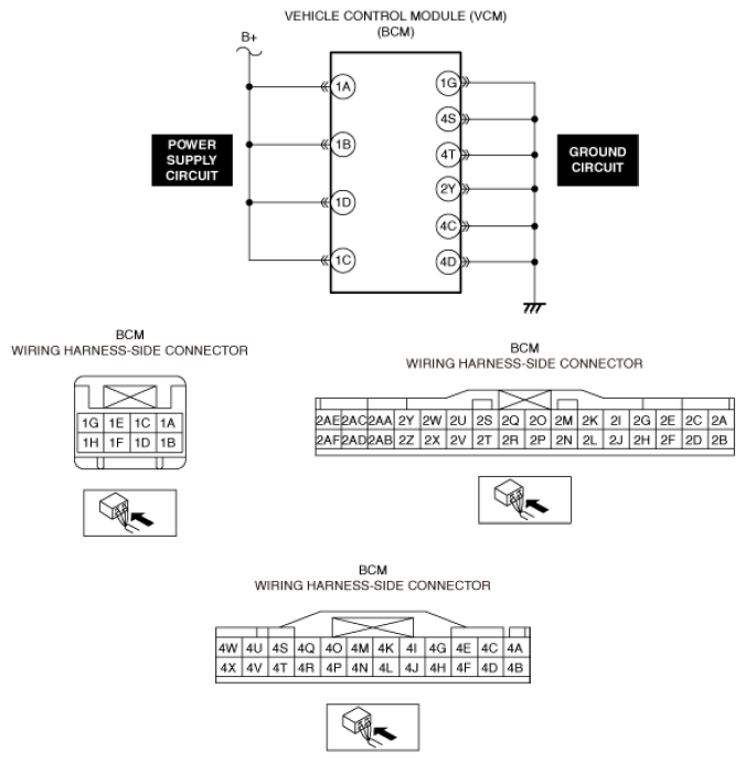
System malfunction location Vehicle control module (VCM) internal malfunction
Detection condition
  • The vehicle control module (VCM) detects any of the following malfunctions for 10 s.
    • Vehicle control module (VCM) internal malfunction
      • Power supply circuit malfunction
Fail-safe (See DTC TABLE [VEHICLE CONTROL MODULE (US)] .)
Possible cause
  • Short to ground or open circuit in vehicle control module (VCM) power supply circuit
  • Open circuit in vehicle control module (VCM) ground circuit
  • Vehicle control module (VCM) malfunction (built into body control module (BCM))
G13751005Courtesy of MAZDA MOTORS CORP.