LEMON Manuals: Even more car manuals for everyone: 1960-2025
Home >> Mazda >> 2021 >> CX-30 Turbo >> Repair and Diagnosis (Single Page) >> Engine Performance >> System >> On-Board Diagnostic - Engine Control System (VIN Y) (Introduction) >> OBD-II Drive Mode >> Mode 06 (EVAP System Repair Verification Drive Mode)
April 5, 2026: LEMON Manuals is launched! Read the announcement.

Mode 06 (EVAP System Repair Verification Drive Mode)

NOTE:
  • If "EVAP System Repair Verification Drive Mode" cannot be performed (it is impossible to drive the vehicle under this Drive Mode condition), perform the evaporative system test procedure as an alternative. (See ENGINE CONTROL SYSTEM OPERATION INSPECTION [VIN Y] .)
  1. Verify that all of the following PIDs are within the following specifications. All PIDs must be within specifications before the engine is started to initiate the evaporative system test.
    • IAT:5-35 °C {41-95 °F}
    • FLI:15-85 %
    • BARO: Above 72.3 kPa {0.737 kgf/cm2 , 10.5 psi}
  2. Start the engine and warm it up completely.
  3. Clear the DTCs from the PCM memory using the M-MDS. (See CLEARING DTC .)
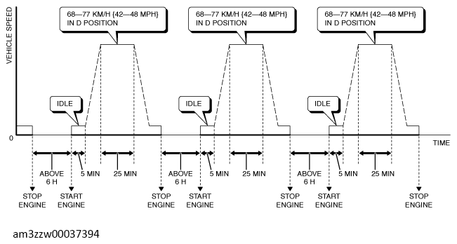
  4. Drive the vehicle as shown in the graph.
    G13712046Courtesy of MAZDA MOTORS CORP.
  5. To verify the completion of the drive mode, stop the vehicle and display the [Mode 1 Powertrain Data] of the ON-BOARD DIAGNOSTIC (OBD) TEST MODES using the M-MDS. (See ON-BOARD DIAGNOSTIC (OBD) TEST MODES .)
    • If the drive mode has been completed, [***RDY] (each system completed) of the PID [***SUP] (with/without support for each system monitor) item indicating YES changes from NO to YES.
      • If the drive mode has not been completed, switch the ignition off and repeat the procedure from Step 1 again.
  6. Access the diagnostic monitoring test results to verify the monitor results. (See ON-BOARD DIAGNOSTIC (OBD) TEST MODES .)
    • If detected values are not within specification, repair has not been completed.
  7. Verify that no DTCs are displayed.