LEMON Manuals: Even more car manuals for everyone: 1960-2025
Home >> Mazda >> 2022 >> CX-30 Select >> Repair and Diagnosis (Single Page) >> Accessories & Equipment >> Drivers Assistance Systems - ADAS >> On-Board Diagnostic - Vehicle Control Module (4 Of 4) >> DTC U3000-49: Vehicle Control Module (VCM) Internal Malfunction [Vehicle Control Module (Us)] >> Outline
April 5, 2026: LEMON Manuals is launched! Read the announcement.

DTC U3000-49: Vehicle Control Module (VCM) Internal Malfunction [Vehicle Control Module (Us)]: Outline

DTC U3000:49 (VEHICLE CONTROL MODULE, US) DETECTION CONDITION AND POSSIBLE CAUSE

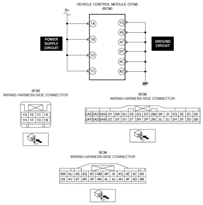
System malfunction location Vehicle control module (VCM) internal malfunction
Detection condition  
  • The vehicle control module (VCM) detects any of the following malfunctions for 10 s.
  • Vehicle control module (VCM) internal malfunction
  • Power supply circuit malfunction
Fail-safe (See DTC TABLE [VEHICLE CONTROL MODULE (US)] .)
Possible cause  
  • Short to ground or open circuit in vehicle control module (VCM) power supply circuit
  • Open circuit in vehicle control module (VCM) ground circuit
  • Vehicle control module (VCM) malfunction (built into body control module (BCM))
G14490284Courtesy of MAZDA MOTORS CORP.