LEMON Manuals: Even more car manuals for everyone: 1960-2025
Home >> Mercedes Benz >> 2003 >> SLK32 >> Repair and Diagnosis (Single Page) >> Engine Mechanical >> Fuel System >> Mixture Formation -- Basic Knowledge -- 170 Chassis >> Basic Knowledge >> Pressure sensor, location/task/design/function - GF07.04-P-5014 >> Pressure sensor, location/task/design/function - GF07.04-P-5014F >> Notes
April 5, 2026: LEMON Manuals is launched! Read the announcement.

Pressure sensor, location/task/design/function - GF07.04-P-5014F: Notes

ENGINE 104.941 /943 /944 /991 /994 as of 1.8.96, 104.995 with CODE (494a) USA version 

ENGINE 111.944 /975 as of 1.8.96, 111.943 /973 /974 with CODE (494a) USA version 

ENGINE 111.951 /952 /955 /956 /957 /958 /982 /983 

ENGINE 137 

ENGINE 119.980 /981 /982 /985 with CODE (494a) USA version with CODE (923a) low emission D3 TIWAN ONLYKOREA ONLYas of 12/96 

ENGINE 112 (except 112.96) with CODE (494a) USA version with CODE (925) low emission EURO3 with CODE (926) low emission EURO4 

ENGINE 113 (except 113.99) with CODE (494a) USA version with CODE (925) low emission EURO3 with CODE (926) low emission EURO4 with CODE (479) Cylinder shutoff 

ENGINE 112 (except 112.96) as of 1.6.00 

ENGINE 113 (except 113.99) as of 1.6.00 

ENGINE 120.98 with CODE (494a) USA version 

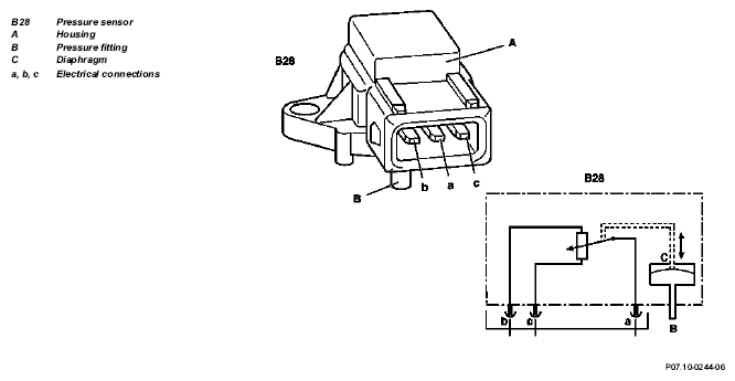
Design 

Fig 1: Identifying Pressure Sensor Component Location/Design/Function - Engine 112 (Except 112.96), 111.973/983
G04736524USA ONLYUSA ONLYUSA ONLYUSA ONLYTIWAN ONLYKOREA ONLYUSA ONLYUSA ONLY
  Pressure sensor position Engine 104 ME USA ONLY F07.04-P-5014-01D
    Engine 111 ME USA ONLY GF07.04-P-5014-01GA 
    Engine 111 EVO EURO3/4 GF07.04-P-5014-01G
    Engine 112, 113 EURO3/4 and USA ONLY (except AMG), engine 113.960 with CODE (479) cylinder shutoff GF07.04-P-5014-01A 
    Engine 119.98 USA ONLY and low emission D3 (code 923)
TIWAN ONLYKOREA ONLY 1 as of 12/96
GF07.04-P-5014-01E
    Engine 120.98 USA ONLY GF07.04-P-5014-01F
    Engine 137 GF07.04-P-5014-01L
  task Detecting the absolute pressure in the intake manifold.
The pressure information is required:
  • Functional chain test OBD and EURO3/4 (e.g. camshaft adjustment, exhaust gas recirculation or USA ONLY leak tightness of evaporative emission control system)
  • ME2.8: altitude detection for start enrichment
  • Engine 113.960 with code 479: testing the cylinder shut-off
 
  Body see Fig.  
  Function The pressure in the intake manifold alters the shape of a diaphragm and the piezo resistors alter their resistance. The output voltage which is influenced in this way serves as information to the control module ME about the pressure in the intake manifold.