LEMON Manuals: Even more car manuals for everyone: 1960-2025
Home >> Mercedes Benz >> 2007 >> SL55 >> Repair and Diagnosis (Single Page) >> Transmission >> Automatic Trans >> Automatic Transmission -- Basic Knowledge -- 230 Chassis >> Basic Knowledge >> Location/task/function of command valve - GF27.60-P-5138G >> Notes
April 5, 2026: LEMON Manuals is launched! Read the announcement.

Location/task/function of command valve - GF27.60-P-5138G: Notes

TRANSMISSION 722.6 

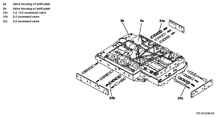
Fig 1: Identifying Command Valve Components
G04606508Courtesy of MERCEDES-BENZ USA
  Command valve, location Each shift group possesses one command valve. The 1-2/4-5 command valves (31a) and 2-3 (31b) are installed in the valve housing of the shift plate (2b), the 3-4 command valve (31c) is installed in the valve housing of the shift plate (2a).  
  Command valve, task The command valves switch the shift groups from the stationary phase into the shift phase and back again  
  Command valve, function   GF27.60-P-5138-04G