LEMON Manuals: Even more car manuals for everyone: 1960-2025
Home >> Mercedes Benz >> 2017 >> Sprinter 3500 Van Cargo Extended, 4WD >> Repair and Diagnosis >> Engine Performance >> Remove, Overhaul & Install >> Mixture Formation - Description & Operation, General Information, Basic Knowledge, Safety Precautions, Testing & Repair, Test & Adjustment Values - Model 906 (Engine 651) >> Basic Knowledge >> Component Description For An Oxygen Sensor - GF07.04-D-6101HD
April 5, 2026: LEMON Manuals is launched! Read the announcement.

Component Description For An Oxygen Sensor - GF07.04-D-6101HD

ENGINES 651.955/957 in MODEL 906 

with CODE (XZ1) Model generation 1 

with CODE (MZ0) Blue EFFICIENCY 

Location 

Shown on model 906, exhaust system 

The oxygen sensor is located in the front exhaust pipe of the oxicat diesel particulate filter device.

G13186422Courtesy of MERCEDES-BENZ USA

Task 

The oxygen sensor detects the residual oxygen content in the exhaust upstream of the oxidation catalytic converter for the following tasks:

Input and output signals 

Direct input signals 

Direct output signals 

Design 

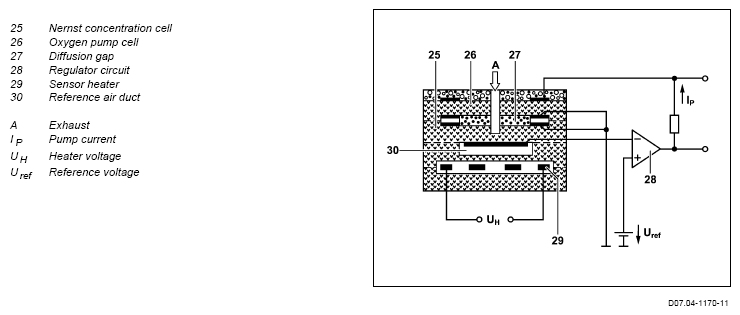
The oxygen sensor is designed as a wideband sensor. It consists of a pump cell, a concentration cell and a heating element. The pump cell is connected with the concentration cell via a diffusion gap. The concentration cell is connected via the reference air duct with the ambient atmosphere.

Function of the wideband oxygen sensor (schematic) 

G13186423Courtesy of MERCEDES-BENZ USA

Function 

The exhaust in the measuring chamber for the concentration cell passes through the diffusion gap. Through application of the supply voltage to the platinum electrodes of the pump cell, oxygen is pumped into or out of the reference chamber. If Lambda (λ) = 1 is already available in the measuring chamber no oxygen needs to be transported. In this case, the pump current is 0 mA. The CDI control unit (N3/28) subsequently regulates the voltage in such a way that the mixture composition in the measuring housing is held constant at the value λ = 1. If the exhaust gas is lean, oxygen is pumped out of the measuring chamber through the pump cell.

This process is recognized by the CDI control unit based on the negative pump current. If the exhaust gas is rich, oxygen is pumped into the measuring chamber. The oxygen is generated by the catalytic decomposition of carbon dioxide (CO2 ) and water. This process is recognized by the CDI control unit based on the positive pump current. Thus the pump current required in each case is a measure for the air/fuel ratio λ.

The integrated heating element is actuated by the CDI control unit when necessary so that the oxygen sensor will quickly reach its operating temperature of about 600°C.