Notes On Injectors - Ah07.16-P-1000-01A
ENGINE 651
Removal instructions:
- The seal ring must be removed from the injector well.
- The injector must not be disassembled.
Information on cleaning injector well and injector seat for slight carbonization:
- Use round brush 651 589 01 68 00 with woolen head, the combustion chamber bore does not need to be sealed.
- On every occasion before the round brush 651 589 01 68 00 is used with the woolen head, the dirt and grease residue must be removed with a rag.
- When using a round brush 651 589 01 68 00 with woolen head, a cordless screwdriver may also be used.
- The use of chip removing tools is not permissible.
- Repeat cleaning process until the injector well and injector seat are metallic bright.
- Cover/seal injector well after cleaning.
If a satisfactory result is not reached, then the cleaning method should be continued for severe carbonization.
Information on cleaning injector well and injector seat for severe carbonization:
- Machines must not be used for this cleaning method.
- Clean injector well using cylinder brush 668 589 00 68 00.
- Before cleaning the injector seat the bore to the combustion chamber must be sealed using the stop plug from the cleaning set 611 589 00 68 00.
- Clean injector seat using round brush 611 589 00 68 00.
- Use round brush 611 589 00 68 00 carefully and cautiously.
- Repeat cleaning process until the injector well and injector seat are metallic bright.
- Blow out cleaning residues with air.
Information on injector:
- The use of chip removing tools is not permissible.
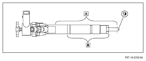
- The injector area (A) can be cleaned with a brass wire brush.
- Never clean nozzle tip using a brass wire brush.
- Thoroughly clean injector again with non-woven cloth.
- Remove fiber residues from non-woven cloth.
- When an impact extractor is used, piezo injectors must not be used again and they have to be replaced.
Information on tool:
- Clean round brush 611 589 00 68 00 and round brush 651 589 01 68 00 with woolen head thoroughly after use.
The bristle length of the round brush 611 589 00 68 00 can be adjusted. The brush length should be 3 mm. The brush surface can be ground flat if necessary.
Information on installation:
- The injector area (B) must be greased.
- Special grease must be spread over thinly and evenly.
- Always replace seal ring between injector and combustion chamber.
- The sealing ring and its contact surfaces must be grease-free .
- Always replace bolts attaching tensioning clamps.
- It must be possible to screw in mounting screws slightly.
Recut thread if necessary.