Notes On Injectors - Ah07.16-P-1000-01S
Model 906 with engine 651
Removal
- Fuel injectors (1, 2, 3, 4) may only be removed with the special tools provided for this purpose.
- Fuel injectors (1, 2, 3, 4) must not be disassembled.
- Before cleaning a fuel injector well, the nozzle bore in the nozzle well must be sealed using a pin.
- Fuel injector wells in the cylinder head may only be cleaned using suitable tools.
- The sealing surfaces of the fuel injector wells must be cleaned carefully. Electric-powered machines must not be used for cleaning.
- Dirt debris and fiber residues must be removed completely.
- A visual inspection of the seats and fuel injector wells is absolutely essential.
Installation
- The sealing rings that seal the fuel injectors (1, 2, 3, 4) with the combustion chamber must always be replaced.
- The special grease must not get on to the sealing rings.
- Contamination on the sealing rings and sealing surfaces of the fuel injectors (1, 2, 3, 4) and on the cylinder head must be removed.
- The screws of the fuel injectors (1, 2, 3, 4) must always be replaced.
- The screws of the fuel injectors (1, 2, 3, 4) must be easy to screw in.
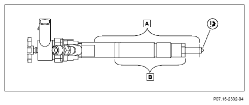
- Fuel injector stems may only be precleaned in area (A) using a brass wire brush.
- The nozzle tips may only be cleaned using suitable cleaning materials.
- After precleaning, the entire fuel injectors (1, 2, 3, 4) must be cleaned again thoroughly. Fiber residues on the fuel injectors (1, 2, 3, 4) must be removed.
- Fuel injector stems should only be lightly greased in area (B) using special grease.
- After cleaning, the pin must be removed from the nozzle hole.
- The installation heights of the fuel injectors (1, 2, 3, 4) must always be checked.
Installation height of fuel injectors (1, 2, 3, 4) OK
The fuel injectors (1, 2, 3, 4) all have the same installation height.
Measuring installation height of fuel injectors (1, 2, 3, 4)
The installation height of the fuel injectors (1, 2, 3, 4) must be measured using a metal rule (01).
Installation height of fuel injector (3) not OK
The installation height of the fuel injector (3) is too high. When the sealing ring was replaced the old sealing ring was not removed.
Installation height of fuel injector (3) not OK
The installation height of the fuel injector (3) is too low. A sealing ring was not installed.