LEMON Manuals: Even more car manuals for everyone: 1960-2025
Home >> Mercedes Benz >> 2021 >> Metris Van Cargo >> Repair and Diagnosis (Single Page) >> Accessories & Equipment >> Drivers Assistance Systems - ADAS >> Electrical System, Equipment & Instruments (03 Of 11) -- 447 Chassis >> Basic Knowledge >> PSM Arithmetic, Example Of PSM Function >> PSM Arithmetic, Example Of PSM Function - GF54.21-S-3055-01TRB
April 5, 2026: LEMON Manuals is launched! Read the announcement.

PSM Arithmetic, Example Of PSM Function - GF54.21-S-3055-01TRB

Model 447 

With Code ED5 (Parameterisable special module) 

Except Code XM7 (MOPF II) 

Display dimming, filter block 

Model 448 

With Code ED5 (Parameterisable special module) 

Except Code XM7 (MOPF II) 

Display dimming, filter block 

G16501299Courtesy of MERCEDES-BENZ USA

Display dimming, function blocks 

Display dimming 

The display dimming (interior CAN (CAN B): "SwillLvl") can be output on one of the pulse-width-modulation-compatible outputs (A).

Value range of pulse width modulated signal 0 to 100 %
Frequency 500 Hz

If "Term15R_Actv" = "1", the control units with display only use the "SwillLvl" value (W) for their display illumination.

If "Term15R_Actv" = "0Terminal 15R" (terminal 15R OFF) and "PosnLmp_On_Rq" = "1" (standing lights ON), the currently transmitted "SwillLvl" value (W) is set and remains stored and set during the transition to bus idle for as long as the control unit is active.

If "Term15R_Actv" = "0Terminal 15R" (terminal 15R OFF) and "PosnLmp_On_Rq" = "0" (standing lights OFF), the value (W) is 70 %.

A switched-off control unit which is activated locally with bus idle and has not currently stored and set a "SwillLvl" value (W) also sets the value (W) 70 %.

During transition to bus idle, the current value (W) for "SwillLvl" has to be stored locally.

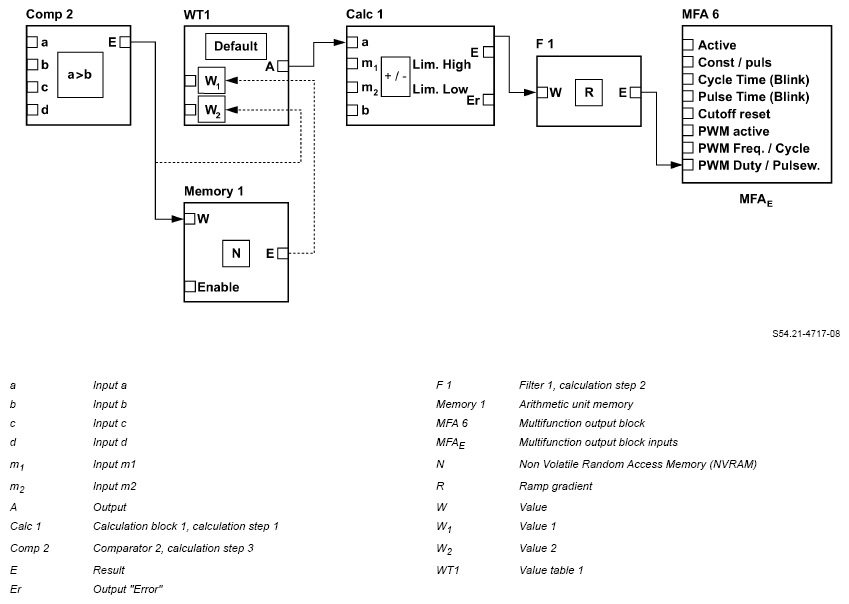
The display dimming functions are specified through the programmable logic controller (PLC) group, arithmetic unit and multifunction output blocks. The picture above shows the simplified linking of the function blocks. The configuration is available in the tables.

Function description of implementation 

Comparator 2, calculation step 3 (Comp 2): 

Arithmetic unit memory (Memory 1): 

Value table 1 (WT1): 

Calculation block 1, calculation step 1 (Calc 1): 

Filter 1, calculation step 2 (F 1): 

Multifunction output block (MFA 6): 

Multifunction output block (MFA 6), filter setting: 

ARITHMETIC UNIT - COMPARATOR 2, CALCULATION STEP 3 (COMP 2), CONFIGURATION

Block Input Signal name Category Compare operation
Comparator 2 Compare_2_a Out_AU_Const_2 Arithmetic unit constant Input a (a) ≥ Input b (b)
Arithmetic unit Compare_2_b SwillLvl Interior CAN (CAN B), receive signals  
- Compare_2_c SwillLvl Interior CAN (CAN B), receive signals  
- Compare_2_d Out_G12_K1_value PLC group 12  
WERTETABELLE 1 VALUE TABLE 1 (WT1), CONFIGURATION

Block Input Signal name Category
WT1 Value table 1 default value Out_G12_K1_value PLC group 12
PLC G12 Value table 1, value 1 Wert 1 Out_AU_Memory_1 Arithmetic unit
- Value table 1, value 2 Wert 2 Out_AU_Compare_2 Arithmetic unit
- WT1_1 (value 1) PosnLmp_On_Rq Interior CAN (CAN B), receive signals
- WT1_2 (value 2) Term15R_Actv Interior CAN (CAN B), receive signals
- WT1_3 (value 3) to WT1_4 (value 4) Const_Bit_0 Constant
ARITHMETIC UNIT MEMORY (MEMORY 1), CONFIGURATION

Block Input Signal name Category Activation delay (20 ms steps)
Memory block 1 Memory_1_value Out_AU_Compare_2 Arithmetic unit 0
Arithmetic unit Memory_1_Enable MPMi_CAN_B_awake Internal signals of parameterizable special module (PSM)  
ARITHMETIC UNIT - CALCULATION BLOCK 1, CALCULATION STEP 1 (CALC 1), CONFIGURATION

Block Input Signal name Category Parameter Contents
Calc1 Calc_1_a Out_G12_WT1 PLC group 12 Calculations step assignment Schritt 1
Arithmetic unit Calc_1_b Const_Bit_0 Constant Lim. High 10000
- Calc_1_c Out_AU_Const_2 Arithmetic unit Lim. Low 0
- Calc_1_d Const_Bit_1 Constant Type "+/-" "+"
ARITHMETIC UNIT - FILTER 1, CALCULATION STEP 2 (F1), CONFIGURATION

Block Input Signal name Category Parameter Contents
Filter_1 Filter_1 Out_AU_Calc1 Arithmetic unit Calculation assignment Schritt 2 Step 2 (0)
Arithmetic unit - - - Model Ramp (1)
- - - - Filter stages/ramp increase 100
ARITHMETIC UNIT - CONSTANT KB_1 AND PLC G12 KONSTANTE 1, CONFIGURATION

Block Parameter Contents
Const_G12 Out_G12_K1_value 70
Const_AU Out_AU_Const_1 5000
- Out_AU_Const_2 100
MFA6 CONFIGURATION

Block Input Signal name Category Parameter Contents
MFA 6 MFA6_Eingang1 (active) Const_Bit_1 Constant - -
- MFA6_Eingang2 (const/pulse) Const_Bit_0 Constant Model Output (1)
- MFA6_Eingang3 (CutOffReset) Term15_Actv Interior CAN (CAN B), receive signals Reactivation attempts 1
- MFA6_Eingang4 (cycle time) Const_Bit_0 Constant PWM type Frequency (0)
- MFA6_Eingang5 (pulse time) Const_Bit_0 Constant - -
- MFA6_Eingang6 (PWM active) Const_Bit_1 Constant - -
- MFA6_Eingang7 (PWM period) Out_AU_Const_1 Arithmetic unit - -
- MFA6_Eingang8 (PWM duty) Out_AU_Filter_1 Arithmetic unit - -