LEMON Manuals: Even more car manuals for everyone: 1960-2025
Home >> Mercedes Benz >> 2021 >> Metris Van Cargo >> Repair and Diagnosis (Single Page) >> Accessories & Equipment >> Drivers Assistance Systems - ADAS >> Electrical System, Equipment & Instruments (03 Of 11) -- 447 Chassis >> Basic Knowledge >> PSM Arithmetic, Example Of PSM Function >> PSM Arithmetic, Example Of PSM Function - GF54.21-S-3055-01TRF
April 5, 2026: LEMON Manuals is launched! Read the announcement.

PSM Arithmetic, Example Of PSM Function - GF54.21-S-3055-01TRF

Model 447 

With Code ED5 (Parameterisable special module) 

Except Code XM7 (MOPF II) 

Vehicle interior temperature, constants 

Model 448 

With Code ED5 (Parameterisable special module) 

Except Code XM7 (MOPF II) 

Vehicle interior temperature, constants 

G16501303Courtesy of MERCEDES-BENZ USA

Vehicle interior temperature function blocks 

The vehicle interior temperature (interior CAN (CAN B): "AirTemp_Insd") can be output at one of the pulse width modulation-compatible outputs.

Formula: duty cycle = (vehicle interior temperature [°C] * 4)/232 [°C]

Value range of vehicle interior temperature 0...58°C
Value range of pulse width modulated signal 0...100 %
Frequency 200 Hz

100 If no air conditioning system is installed ("AAC_VH = [0]"), then the output is constantly switched through (i.e. pulse width modulation (PWM) = 100%).

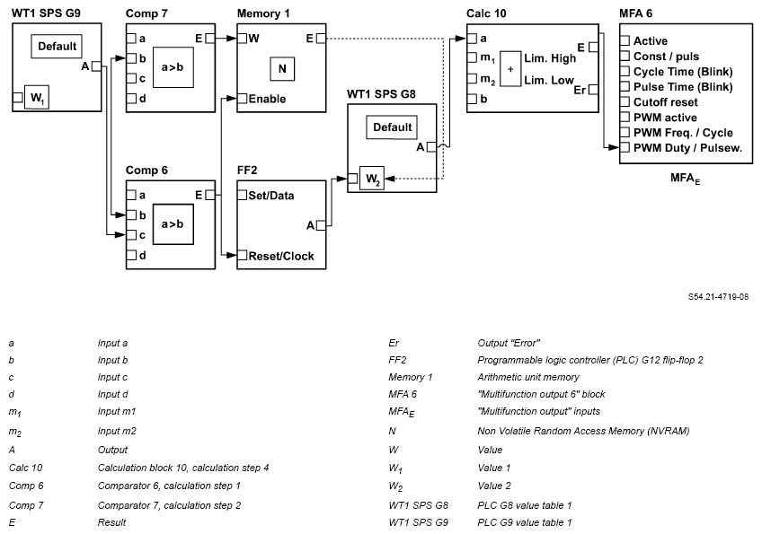
The vehicle interior temperature is realized through the programmable logic controller (PLC) group, arithmetic unit (AU) and the "MFA" blocks. The picture shows the simplified function block operation. The configuration is available in the tables.

Function description of implementation 

PLC G9 value table 1 (WT1 PLC G9): 

Comparator 6, calculation step 1 (Comp 6): 

Comparator 7, calculation step 2 (Comp 7): 

Arithmetic unit memory (Memory 1): 

PLC G12 flip-flop 2 (FF2): 

PLC G8 value table 1 (WT 1 PLC G8): 

Calculation block 10, calculation step 4 (Calc 10): 

PLC G9 VALUE TABLE 1 (WT1 PLC G9), CONFIGURATION

- - - - - - - - - - - - - - - - - - - - Signal name Signal ID
Input F1 F2 F3 F4 F5 F6 F7 F8 F9 F10 F11 F12 F13 F14 F15 F16 Signal name Identification number (ID) of signal Default value (signal name) Out_AU_Const_14 0x8040
WT1_1 (value 1)  0 0 0 0 0 0 0 0 0 0 0 0 0 0 0 0 HVAC_AVL 0x1290 Value 1 (signal name)  AirTemp_Insd 0x237
WT1_2 (value 2)  0 0 0 0 0 0 0 0 0 0 0 0 0 0 0 0 Const_Bit_0 0x1000 Value 2 (signal name)  Const_Bit_0 0x1000
WT1_3 (value 3)  0 0 0 0 0 0 0 0 0 0 0 0 0 0 0 0 Const_Bit_0 0x1000 Value 3 (signal name)  Const_Bit_0 0x1000
WT1_4 (value 4)  0 0 0 0 0 0 0 0 0 0 0 0 0 0 0 0 Const_Bit_0 0x1000 Value 4 (signal name)  Const_Bit_0 0x1000
ARITHMETIC UNIT 6 CONFIGURATION

Input Signal name Signal ID Compare operation
Compare_6_a Out_AU_Const_14 0x804D Input a (a) ≥ Input b (b)
Compare_6_b Out_G9_WT1 0x3070  
Compare_6_c Const_Bit_1 0x1001  
Compare_6_d Const_Bit_0 0x1000  
ARITHMETIC UNIT - COMPARATOR 7, CALCULATION STEP 2 (COMP 7), CONFIGURATION

Input Signal name Signal ID Terminal 58D, comparator block
Compare_7_a Out_AU_Const_14 0x804D Input a (a) ≥ Input b (b)
Compare_7_b Out_G9_WT1 0x3070  
Compare_7_c Out_G9_WT1 0x3070  
Compare_7_d Const_Bit_0 0x1000  
ARITHMETIC UNIT MEMORY (MEMORY 1), CONFIGURATION

Input Signal name Signal ID Arithmetic unit memory - -
Memory_1_value Out_AU_Compare_7 0x802A - Activation delay (in 20 ms steps) 0
Memory_1_Enable Out_AU_Compare_6 0x8029   - -
PLC G12 FLIP-FLOP 2 (FF2), CONFIGURATION

Input F1 F2 F3 F4 F5 F6 F7 F8 F9 F10 F11 F12 F13 F14 F15 F16 Signal name Signal ID Mode Sequential point (1)
FF2_1 (set/data)  0 0 0 0 0 0 0 0 0 0 0 0 0 0 0 0 Out_AU_Calc_4 0x8003 Threshold A  0
FF2_2 (reset/clock)  0 0 0 0 0 0 0 0 0 0 0 0 0 0 0 0 - - Threshold B  800
PLC G9 VALUE TABLE 1 (WT1 PLC G9), CONFIGURATION

- - - - - - - - - - - - - - - - - - - PLC G8 value table 1 configuration - Signal name Signal ID
Input F1 F2 F3 F4 F5 F6 F7 F8 F9 F10 F11 F12 F13 F14 F15 F16 Signal name Signal ID   Default value (signal name) Out_AU_Const_14 0x8040
WT1_1 (value 1)  0 0 0 0 0 0 0 0 0 0 0 0 0 0 0 0 Out_G12_FF2 0x3089   Value 1 (signal name)  AirTemp_Insd 0x237
WT1_2 (value 2)  0 0 0 0 0 0 0 0 0 0 0 0 0 0 0 0 Const_Bit_0 0x1000   Value 2 (signal name)  Const_Bit_0 0x1000
WT1_3 (value 3)  0 0 0 0 0 0 0 0 0 0 0 0 0 0 0 0 Const_Bit_0 0x1000   Value 3 (signal name)  Const_Bit_0 0x1000
WT1_4 (value 4)  0 0 0 0 0 0 0 0 0 0 0 0 0 0 0 0 Const_Bit_0 0x1000   Value 4 (signal name)  Const_Bit_0 0x1000
ARITHMETIC UNIT - CALCULATION BLOCK 10, CALCULATION STEP 4 (CALC 10), CONFIGURATION

Input Signal name Signal ID Upper limit value Lower limit value
Calc_10_a Out_G8_WT1 0x3067 1000 0
Calc_10_m1 Out_AU_Const_12 0x804B    
Calc_10_m2 Out_AU_Const_14 0x804D    
Calc_10_b Const_Bit_0 0x1000    
ARITHMETIC UNIT (AU) CONSTANTS CONFIGURATION

Constants Arithmetic unit Meaning
Constant 12  10000 000 Maximum duty cycle
Constant 13  2000 Frequency
Constant 14  250 Maximum valid value of interior CAN (CAN B) signal
1A High-Side, PWM F1 F2 F3 F4 F5 F6 F7 F8 F9 F10 F11 F12 F13 F14 F15 F16 Signal name Signal ID MFA 6 -
MFA6_Eingang1 (active)  0 0 0 0 0 0 0 0 0 0 0 0 0 0 0 0 Const_Bit_1 0x1001 - Model  Output (1)
MFA6_Eingang2 (const/pulse)  - - - - - - - - - - - - - - - - Const_Bit_0 0x1000   Reactivation attempts  1
MFA6_Eingang3 (Cutoff reset)  - - - - - - - - - - - - - - - - Term15_Actv 0x1219   PWM type  Frequency (0)
MFA6_Eingang4 (cycle time)  - - - - - - - - - - - - - - - - Const_Bit_0 0x1000 -
MFA6_Eingang5 (pulse time)  - - - - - - - - - - - - - - - - Const_Bit_0 0x1000  
MFA6_Eingang6 (PWM active)  - - - - - - - - - - - - - - - - Const_Bit_1 0x1001  
MFA6_Eingang7 (PWM cycle)  - - - - - - - - - - - - - - - - Out_AU_Const_13 0x804C  
MFA6_Eingang8 (PWM duty)  - - - - - - - - - - - - - - - - Out_AU_Calc_10 0x8009