LEMON Manuals: Even more car manuals for everyone: 1960-2025
Home >> Mercedes Benz >> 2021 >> Metris Van Cargo >> Repair and Diagnosis (Single Page) >> Accessories & Equipment >> Drivers Assistance Systems - ADAS >> Electrical System, Equipment & Instruments (05 Of 11) -- 447 Chassis >> Basic Knowledge >> PSM Arithmetic, Example Of PSM Function >> PSM Arithmetic, Example Of PSM Function - GF54.21-D-3055-01TSG
April 5, 2026: LEMON Manuals is launched! Read the announcement.

PSM Arithmetic, Example Of PSM Function - GF54.21-D-3055-01TSG

Model 447, 448 

with code ED5 (Parameterisable special module) 

with code XM7 (MOPF II) 

Outside temperature, arithmetic block 

Model 907, 910 

with code ED5 (Parameterisable special module) 

with code XJ4 (Modification year G4-I) 

Outside temperature, arithmetic block 

G16501228Courtesy of MERCEDES-BENZ USA

Function blocks for outside temperature 

The outside temperature (interior CAN (CAN B): "AirTemp_OutSd") can be output at one of the pulse-width-modulation-compatible outputs (A).

Formula: duty cycle = (outside temperature [°C] + 40 [°C])/125 [°C]

Outside temperature value range -40 to 85°C
Value range of pulse-width-modulated signal 0 to 100%
Frequency 200 Hz

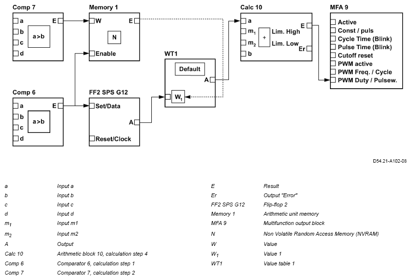
If a value (W) outside the valid range is sent, the last valid value (W) is used. If a valid value (W) is still not available, 0% pulse width modulation (PWM) is output. The PWM function for the outside temperature is implemented using groups of the programmable logic controller (PLC), arithmetic unit and multifunction output blocks. The picture above shows the simplified linking of the function blocks. The configuration is available in the tables.

Function description of implementation 

Comparator 6, calculation step 1 (Comp 6): 

Comparator 7, calculation step 2 (Comp 7): 

Arithmetic unit memory (Memory 1): 

Flip-flop 2 (FF2 PLC G12V 

Value table 1 WT1): 

Calculation block 10, calculation step 4 (Calc 10): 

Multifunction output block (MFA 9): 

IMPORTANT Signal identification number = Signal ID.

The signal IDs are notated in hexadecimal form.

ARITHMETIC UNIT - COMPARATOR 6, CALCULATION STEP 1 (COMP 6), CONFIGURATION

Input Signal name Signal ID Compare operation
Compare_6_a AU_Const_14 0xF045 Input a (a) ≥ Input b (b)
Compare_6_b AirTemp_OutSd 0x2070  
Compare_6_c Const_Bit_1 0x1001  
Compare_6_d Const_Bit_0 0x1000  
ARITHMETIC UNIT - COMPARATOR 7, CALCULATION STEP 2 (COMP 7), CONFIGURATION

Input Signal name Signal ID Compare operation
Compare_7_a AU_Const_14 0xF045 Input a (a) ≥ Input b (b)
Compare_7_b AirTemp_OutSd 0x2070  
Compare_7_c Const_Bit_1 0x1001  
Compare_7_d Const_Bit_0 0x1000  
ARITHMETIC UNIT MEMORY (MEMORY 1), CONFIGURATION

Input Signal name Signal ID Activation delay (in increments of 20 ms)
Memory_1_Value AU_Compare_7 0xF02E 0
Memory_1_Enable AU_Compare_6 0xF02D  
FLIPFLOP 2 (FF2 PLC G12) CONFIGURATION

Input F 1 F 2 F 3 F 4 F 5 F 6 F 7 F 8 F 9 F 1 0 F 11 F 1 2 F 1 3 F 1 4 F 1 5 F 1 6 Signal name Signal ID - -
FF2_1 (Set/data) 0 0 0 0 0 0 0 0 0 0 0 0 0 0 0 0 AU_Calc_4 0xF003 Flipflop type D_FF (1)
FF2_2 (Reset/clock) 0 0 0 0 0 0 0 0 0 0 0 0 0 0 0 0 - - Flipflop evaluation Status-controlled/positive signal edge (0)
WERTETABELLE 1 VALUE TABLE 1 (WT1) CONFIGURATION

Input F 1   F 3 F 4 F 5 F 6 F 7 F 8 F 9 F 10 F 11 F 12 F 13 F 14 F 15 F 16 Signal name Signal ID Value table 1 Default value (Signal name) Const_Bit_0 0x1000
WT1_1 (Value 1) 0 0 0 0 0 0 0 0 0 0 0 0 0 0 0 0 SPS_G12_FF2 0xB091 - Value 1 (Signal name) AU_Memory_1 0xF088
WT1_2 (Value 2) 0 0 0 0 0 0 0 0 0 0 0 0 0 0 0 0 Const_Bit_0 0x1000 - Value 2 (Signal name) Const_Bit_0 0x1000
WT1_3 (Value 3) 0 0 0 0 0 0 0 0 0 0 0 0 0 0 0 0 Const_Bit_0 0x1000 - Value 3 (Signal name) Const_Bit_0 0x1000
WT1_4 (Value 4) 0 0 0 0 0 0 0 0 0 0 0 0 0 0 0 0 Const_Bit_0 0x1000 - Value 4 (Signal name) Const_Bit_0 0x1000
ARITHMETIC UNIT MEMORY - ARITHMETIC BLOCK 10, CALCULATION STEP 4, CONFIGURATION

Input Signal name Signal ID Lower limit value Upper limit value
Calc_10_a SPS_G8_WT1 0xB066 0 10, 000
Calc_10_m1 AU_Const_12 0xF043    
Calc_10_m2 AU_Const_14 0xF045    
Calc_10_b Const_Bit_0 0x1000    
MEMORY OF ARITHMETIC UNIT (MEMORY 1), CONSTANTS CONFIGURATION

Constants Arithmetic unit Meaning
Constants 12 10, 000 Maximum duty cycle
Constants 13 2, 000 Frequency
Constants 14 250 Maximum valid value (W)
MULTIFUNCTION OUTPUT BLOCK (MFA 9)

1A high-side, PWM F1 F2 F3 F4 F5 F6 F7 F8 F9 F10 F11 F12 F13 F14 F15 F16 Signal name Signal ID
Input 1 (Active) 0 0 0 0 0 0 0 0 0 0 0 0 0 0 0 0 Const_Bit_1 0x1001
Input 2 (Const/pulse) - - - - - - - - - - - - - - - - Const_Bit_0 0x1000
Input 3 (Cycle time) - - - - - - - - - - - - - - - - Const_Bit_0 0x1000
Input 4 (Pulse time) - - - - - - - - - - - - - - - - Const_Bit_0 0x1000
Input 5 (Cutoff reset) - - - - - - - - - - - - - - - - Term15_Actv 0x1106
Input 6 (PWM active) - - - - - - - - - - - - - - - - Const_Bit_1 0x1001
Input 7 (PWM freq./cycle) - - - - - - - - - - - - - - - - AU_Const_13 0xF044
Input 8 (PWM duty/pulse width) - - - - - - - - - - - - - - - - AU_Calc_10 0xF009