LEMON Manuals: Even more car manuals for everyone: 1960-2025
Home >> Mercedes Benz >> 2021 >> Metris Van Cargo >> Repair and Diagnosis (Single Page) >> Accessories & Equipment >> Drivers Assistance Systems - ADAS >> Electrical System, Equipment & Instruments (05 Of 11) -- 447 Chassis >> Basic Knowledge >> PSM Arithmetic, Example Of PSM Function >> PSM Arithmetic, Example Of PSM Function - GF54.21-D-3055-01TSL
April 5, 2026: LEMON Manuals is launched! Read the announcement.

PSM Arithmetic, Example Of PSM Function - GF54.21-D-3055-01TSL

Model 447, 448 

with code ED5 (Parameterisable special module) 

with code XM7 (MOPF II) 

Vehicle interior temperature, constants 

Model 907, 910 

with code ED5 (Parameterisable special module) 

with code XJ4 (Modification year G4-I) 

Vehicle interior temperature, constants 

G16501233Courtesy of MERCEDES-BENZ USA

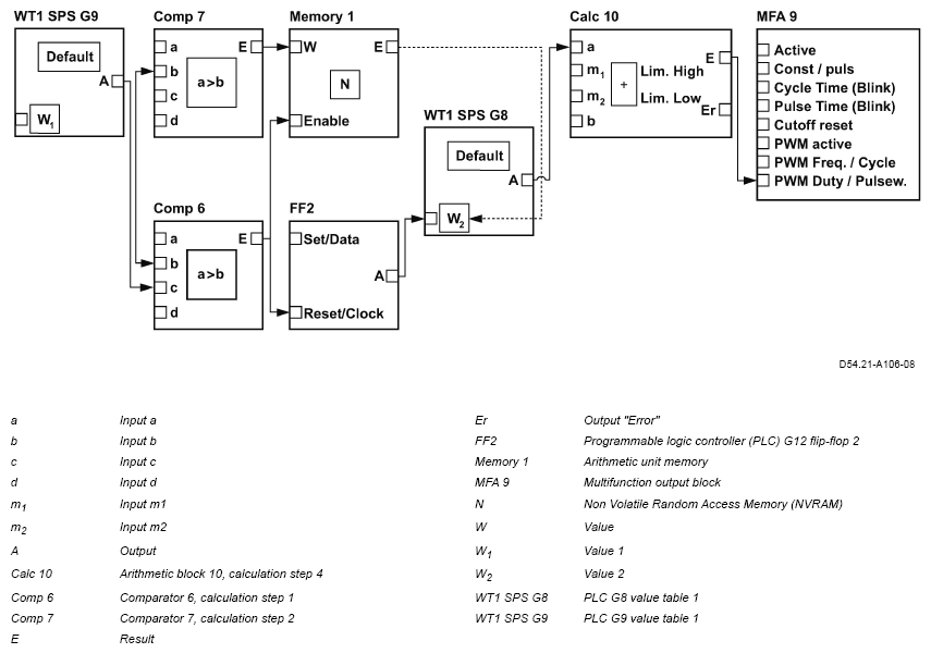
Vehicle interior temperature function blocks 

The vehicle interior temperature (interior CAN (CAN B): "AirTemp_Insd") can be output at one of the pulse-width-modulation-compatible outputs.

Formula: Duty cycle = (Vehicle interior temperature [°C] * 4)/232 [°C]

Value range of vehicle interior temperature 0 to 58°C
Value range of pulse-width-modulated signal 0 to 100%
Frequency 200 Hz

If no air conditioning system is installed ("KLA_VH = [0]"), then the output is constantly applied (i.e. pulse width modulation (PWM) = 100%).

The vehicle interior temperature is realized through the programmable logic control (PLC) group, arithmetic unit (AU) and the "MFA" blocks. The picture shows the simplified function block operation. The configuration is available in the tables.

Function description of implementation 

PLC G9 value table 1 (WT1 PLC G9Y  .

Comparator 6, calculation step 1 (Comp 6): 

Comparator 7, calculation step 2 (Comp 7): 

Arithmetic unit memory (Memory 1): 

PLC G12 flip-flop 2 (FF2): 

PLC G8 value table 1 (WT 1 PLC G8): 

Calculation block 10, calculation step 4 (Calc 10): 

PLC G9 VALUE TABLE 1 (WT1 PLC G9), CONFIGURATION

- - - - - - - - - - - - - - - - - - - - Signal name Signal ID
Input F1 F2 F3 F4 F5 F6 F7 F8 F9 F1 0 F1 1 F1 2 F1 3 F1 4 F1 5 F1 6 Signal name Identification number (ID) of signal Default value (Signal name) AU_Const_14 0xF045
WT1_1 (Value 1)  0 0 0 0 0 0 0 0 0 0 0 0 0 0 0 0 HVAC_AVL 0x12E7 Value 1 (Signal name)  AirTemp_Insd 0x3075
WT1_2 (Value 2)  0 0 0 0 0 0 0 0 0 0 0 0 0 0 0 0 Const_Bit_0 0x1000 Value 2 (Signal name)  Const_Bit_0 0x1000
WT1_3 (Value 3)  0 0 0 0 0 0 0 0 0 0 0 0 0 0 0 0 Const_Bit_0 0x1000 Value 3 (Signal name)  Const_Bit_0 0x1000
WT1_4 (Value 4)  0 0 0 0 0 0 0 0 0 0 0 0 0 0 0 0 Const_Bit_0 0x1000 Value 4 (Signal name)  Const_Bit_0 0x1000
ARITHMETIKEINHEIT 6 ARITHMETIC UNIT 6 CONFIGURATION

Input Signal name Signal ID Compare operation
Compare_6_a AU_Const_14 0xF045 Input a (a) ≥ Input b (b)
Compare_6_b SPS_G9_WT1 0xB073  
Compare_6_c Const_Bit_1 0x1001  
Compare_6_d Const_Bit_0 0x1000  
ARITHMETIC UNIT - COMPARATOR 7, CALCULATION STEP 2 (COMP 7), CONFIGURATION

Input Signal name Signal ID Terminal 58D, comparator block
Compare_7_a AU_Const_14 0xF045 Input a (a) ≥ Input b (b)
Compare_7_b SPS_G9_WT1 0xB073  
Compare_7_c SPS_G9_WT1 0xB073  
Compare_7_d Const_Bit_0 0x1000  
ARITHMETIC UNIT MEMORY (MEMORY 1), CONFIGURATION

Input Signal name Signal ID Arithmetic unit memory -
Memory_1_Value AU_Compare_7 0xF02E - Activation delay (in increments of 0 20 ms)
Memory_1_Enable AU_Compare_6 0xF02D   -
PLC G12 FLIP-FLOP 2 (FF2), CONFIGURATION

Input F1 F2 F3 F4 F5 F6 F7 F8 F9 F1 0 F1 1 F1 2 F1 3 F1 4 F1 5 F1 6 Signal name Signal ID Mode Sequential point (1)
FF2_1 (Set/data)  0 0 0 0 0 0 0 0 0 0 0 0 0 0 0 0 AU_Calc_4 0xF003 Threshold A  0
FF2_2 
(Reset/clock) 
0 0 0 0 0 0 0 0 0 0 0 0 0 0 0 0 - - Threshold B  800
PLC G9 VALUE TABLE 1 (WT1 PLC G9), CONFIGURATION

- - - - - - - - - - - - - - - - - - - PLC G8 value table 1 configuration - Signal name Signal ID
Input  F 1  F 2  F 3  F 4  F 5  F 6  F 7  F 8  F 9  F 1 0  F 1 1  F 1 2  F 1 3  F 1 4  F 1 5  F 1 6  Signal name  Signal ID    Default value (Signal name)  AU_Const_14 0xF045
WT1_1 (Value 1)  0 0 0 0 0 0 0 0 0 0 0 0 0 0 0 0 SPS_G12_FF2 0xB091   Value 1 (Signal name)  AirTemp_Insd 0x3075
WT1_2 (Value 2)  0 0 0 0 0 0 0 0 0 0 0 0 0 0 0 0 Const_Bit_0 0x1000   Value 2 (Signal name)  Const_Bit_0 0x1000
WT1_3 (Value 3)  0 0 0 0 0 0 0 0 0 0 0 0 0 0 0 0 Const_Bit_0 0x1000   Value 3 (Signal name)  Const_Bit_0 0x1000
WT1_4 (Value 4)  0 0 0 0 0 0 0 0 0 0 0 0 0 0 0 0 Const_Bit_0 0x1000   Value 4 (Signal name)  Const_Bit_0 0x1000
ARITHMETIC UNIT - ARITHMETIC BLOCK 10, CALCULATION STEP 4 (CALC 10), CONFIGURATION

Input Signal name Signal ID Upper limit value Lower limit value
Calc_10_a SPS_G8_WT1 0xB066 1, 000 0
Calc_10_m1 AU_Const_12 0xF043    
Calc_10_m2 AU_Const_14 0xF045    
Calc_10_b Const_Bit_0 0x1000    
ARITHMETIC UNIT (AU), CONSTANTS CONFIGURATION

Constants Arithmetic unit Meaning
Constant 12  10, 000 Maximum duty cycle
Constant 13  2, 000 Frequency
Constant 14  250 Maximum valid value of interior CAN (CAN B) signal
1A high-side, PWM F 1 F 2 F 3 F 4 F 5 F 6 F 7 F 8 F 9 F 10 F 11 F 12 F 13 F 14 F 15 F 16 Signal name Signal ID MFA 9 -
MFA9_Eingang1 MFA9_Input1 (Active)  0 0 0 0 0 0 0 0 0 0 0 0 0 0 0 0 Const_Bit_1 0x1001 - Type  Output (1)
MFA9_Eingang2 MFA9_Input (Const/pulse)  - - - - - - - - - - - - - - - - Const_Bit_0 0x1000   Reactivation attempts  1
MFA9_Eingang3 MFA9_Input3 (Cutoff reset)  - - - - - - - - - - - - - - - - Term15_Actv 0x1106   PWM type  Frequency (0)
MFA9_Eingang4 MFA9_Input4 (Cycle time)  - - - - - - - - - - - - - - - - Const_Bit_0 0x1000 -
MFA9_Eingang5 MFA9_Input5 (Pulse time)  - - - - - - - - - - - - - - - - Const_Bit_0 0x1000  
MFA9_Eingang6 MFA9_Input6 (PWM active)  - - - - - - - - - - - - - - - - Const_Bit_1 0x1001  
MFA9_Eingang7 MFA9_Input7 (PWM cycle)  - - - - - - - - - - - - - - - - AU_Const_13 0xF044  
MFA9_Eingang8 MFA9_Input8 (PWM duty)  - - - - - - - - - - - - - - - - AU_Calc_10 0xF009