LEMON Manuals: Even more car manuals for everyone: 1960-2025
Home >> Mercedes Benz >> 2021 >> Metris Van Cargo >> Repair and Diagnosis (Single Page) >> Electrical >> Charging Systems >> Electrical System, Equipment & Instruments (03 Of 11) -- 447 Chassis >> Basic Knowledge >> PSM Arithmetic, Example Of PSM Function >> PSM Arithmetic, Example Of PSM Function - GF54.21-S-3055-01TRA
April 5, 2026: LEMON Manuals is launched! Read the announcement.

PSM Arithmetic, Example Of PSM Function - GF54.21-S-3055-01TRA

Model 447 

With Code ED5 (Parameterisable special module) 

Except Code XM7 (MOPF II) 

Outside temperature, calculation block 

Model 448 

With Code ED5 (Parameterisable special module) 

Except Code XM7 (MOPF II) 

Outside temperature, calculation block 

G16501298Courtesy of MERCEDES-BENZ USA

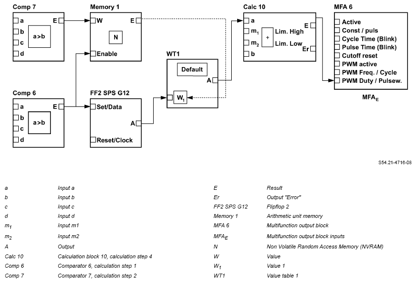
Function blocks for outside temperature 

The outside temperature (interior CAN (CAN B): "AirTemp_OutSd") can be output on one of the pulse-width-modulation-compatible outputs (A).

Formula: duty cycle = (outside temperature [°C] + 40 [°C])/125 [°C]

Outside temperature value range -40 to 85°C
Value range of pulse width modulated signal 0...100%
Frequency 200 Hz

If a value (W) outside the valid range is sent, the last valid value (W) is used. If a valid value (W) is still not available, 0 % pulse width modulation (PWM) is output. The PWM function for the outside temperature is implemented using groups of the programmable logic controller (PLC), arithmetic unit and multifunction output blocks. The picture above shows the simplified linking of the function blocks. The configuration is available in the tables.

Function description of implementation 

Comparator 6, calculation step 1 (Comp 6): 

Comparator 7, calculation step 2 (Comp 7): 

Arithmetic unit memory (Memory 1): 

Flip-flop 2 (FF2 PLC G12): 

Value table 1 (WT1): 

Calculation block 10, calculation step 4 (Calc 10): 

Multifunction output block (MFA 6): 

IMPORTANT Signal identification number = Signal ID.

The signal IDs are notated in hexadecimal form.

ARITHMETIC UNIT - COMPARATOR 6, CALCULATION STEP 1 (COMP 6), CONFIGURATION

Input Signal name Signal ID Compare operation
Compare_6_a Out_AU_Const_14 0x804D Input a (a) ≥ Input b (b)
Compare_6_b AirTemp_OutSd 0x206E  
Compare_6_c Const_Bit_1 0x1001  
Compare_6_d Const_Bit_0 0x1000  
ARITHMETIC UNIT - COMPARATOR 7, CALCULATION STEP 2 (COMP 7), CONFIGURATION

Input Signal name Signal ID Compare operation
Compare_7_a Out_AU_Const_14 0x804D Input a (a) ≥ Input b (b)
Compare_7_b AirTemp_OutSd 0x206E  
Compare_7_c Const_Bit_1 0x1001  
Compare_7_d Const_Bit_0 0x1000  
ARITHMETIC UNIT MEMORY (MEMORY 1), CONFIGURATION

Input Signal name Signal ID Activation delay (in 20 ms steps)
Memory_1_value Out_AU_Compare_7 0x802A 0
Memory_1_Enable Out_AU_Compare_6 0x8029  
FLIPFLOP 2 (FF2 PLC G12), CONFIGURATION

Input F1 F2 F3 F4 F5 F6 F7 F8 F9 F10 F11 F12 F13 F14 F15 F16 Signal name Signal ID    
FF2_1 (set/data)  0 0 0 0 0 0 0 0 0 0 0 0 0 0 0 0 Out_AU_Calc_4 0x8003 Flip-flop type  D_FF (1)
FF2_2 (reset/clock)  0 0 0 0 0 0 0 0 0 0 0 0 0 0 0 0 - - Flip-flop evaluation  Status-controlled/positive signal edge (0)
WERTETABELLE 1 VALUE TABLE 1 (WT1), CONFIGURATION

Input F1 F2 F3 F4 F5 F6 F7 F8 F9 F10 F11 F12 F13 F14 F15 F16 Signal name Signal ID Value table 1 Default value (signal name) Const_Bit_0 0x1000
WT1_1 (value 1)  0 0 0 0 0 0 0 0 0 0 0 0 0 0 0 0 Out_G12_FF2 0x3089   Value 1 (signal name)  Out_AU_Memory_1 0x8030
WT1_2 (value 2)  0 0 0 0 0 0 0 0 0 0 0 0 0 0 0 0 Const_Bit_0 0x1000   Value 2 (signal name)  Const_Bit_0 0x1000
WT1_3 (value 3)  0 0 0 0 0 0 0 0 0 0 0 0 0 0 0 0 Const_Bit_0 0x1000   Value 3 (signal name)  Const_Bit_0 0x1000
WT1_4 (value 4)  0 0 0 0 0 0 0 0 0 0 0 0 0 0 0 0 Const_Bit_0 0x1000   Value 4 (signal name)  Const_Bit_0 0x1000
ARITHMETIC UNIT MEMORY - CALCULATION BLOCK 10, CALCULATION STEP 4, CONFIGURATION

Input Signal name Signal ID Lower limit value Upper limit value
Calc_10_a Out_G8_WT1 0x308B 0 10000
Calc_10_m1 Out_AU_Const_12 0x804B    
Calc_10_m2 Out_AU_Const_14 0x804D    
Calc_10_b Const_Bit_0 0x1000    
ARITHMETIC UNIT MEMORY (MEMORY 1), CONSTANTS, CONFIGURATION

Constants Arithmetic unit Meaning
Constant 12 10000 Maximum duty cycle
Constant 13 2000 Frequency
Constant 14 250 Maximum valid value (W)
MULTIFUNCTION OUTPUT BLOCK (MFA 6)

1A High-Side, PWM F1 F2 F3 F4 F5 F6 F7 F8 F9 F10 F11 F12 F13 F14 F15 F16 Signal name Signal ID
Input 1 (active)  0 0 0 0 0 0 0 0 0 0 0 0 0 0 0 0 Const_Bit_1 0x1001
Input 2 (const/pulse)  - - - - - - - - - - - - - - - - Const_Bit_0 0x1000
Input 3 (cycle time)  - - - - - - - - - - - - - - - - Const_Bit_0 0x1000
Input 4 (pulse time)  - - - - - - - - - - - - - - - - Const_Bit_0 0x1000
Input 5 (Cutoff reset)  - - - - - - - - - - - - - - - - Term15_Actv 0x1219
Input 6 (PWM active)  - - - - - - - - - - - - - - - - Const_Bit_1 0x1001
Input 7 (PWM freq./cycle)  - - - - - - - - - - - - - - - - Out_AU_Const_13 0x804C
Input 8 (PWM duty/pulse width)  - - - - - - - - - - - - - - - - Out_AU_Calc_10 0x8009