LEMON Manuals: Even more car manuals for everyone: 1960-2025
Home >> Mercedes Benz >> 2021 >> Metris Van Cargo >> Repair and Diagnosis (Single Page) >> Electrical >> Charging Systems >> Electrical System, Equipment & Instruments (05 Of 11) -- 447 Chassis >> Basic Knowledge >> PSM Arithmetic, Example Of PSM Function >> PSM Arithmetic, Example Of PSM Function - GF54.21-D-3055-01TSH
April 5, 2026: LEMON Manuals is launched! Read the announcement.

PSM Arithmetic, Example Of PSM Function - GF54.21-D-3055-01TSH

Model 447, 448 

with code ED5 (Parameterisable special module) 

with code XM7 (MOPF II) 

Display dimming, filter block 

Model 907, 910 

with code ED5 (Parameterisable special module) 

with code XJ4 (Modification year G4-I) 

Display dimming, filter block 

G16501229Courtesy of MERCEDES-BENZ USA

Display dimming function blocks 

Display dimming 

The display dimming (interior CAN (CAN B): "SwillLvl") can be output on one of the pulse-width-modulation-compatible outputs (A).

Value range of pulse width modulated signal 0 to 100%
Frequency 500 Hz

If "Term15R_Actv" = "1", the control units with display only use the "SwillLvl" value (W) for display lighting.

If "Term15R_Actv" = "0" (Terminal 15R OFF) and "PosnLmp_On_Rq" = "1" (Standing lights ON), the currently sent "SwillLvl" value (W) is set and remains stored and set during the transition to bus idle while the control unit is active.

If "Term15R_Actv" = "0" (Terminal 15R OFF) and "PosnLmp_On_Rq" = "0" (Standing lights OFF), the value (W) is set to 70%.

A switched-off control unit that is activated locally with bus idle and has not currently stored and set a "SwillLvl" value (W) also sets the value (W) 70%.

During transition to bus idle, the current value (W) for "SwillLvl" has to be stored locally.

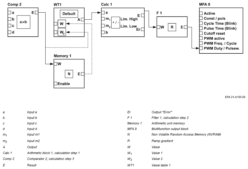
The display dimming functions are specified through the programmable logic controller (PLC) group, arithmetic unit and multifunction output blocks. The picture above shows the simplified linking of the function blocks. The configuration is available in the tables.

Function description of implementation 

Comparator 2, calculation operation 3 (Comp 2): 

Arithmetic unit memory Memory 1): 

Value table 1 (WT1): 

Arithmetic block 1, calculation operation 1 (Calc 1): 

Filter 1, calculation operation 2 (F 1): 

Multifunction output block (MFA 9): 

Multifunction output block (MFA 9), filter setting: 

ARITHMETIC UNIT - COMPARATOR 2, CALCULATION OPERATION 3 (COMP 2), CONFIGURATION

Block Input Signal name Category Compare operation
Comparator 2 Compare_2_a AU_Const_2 Arithmetic unit constant Input a (a) ≥ Input b (b)
Arithmetic unit Compare_2_b SwillLvl Interior CAN (CAN B), receive signals  
- Compare_2_c SwillLvl Interior CAN (CAN B), receive signals  
- Compare_2_d SPS_G12_K1 PLC group 12  
WERTETABELLE 1 (WT1), CONFIGURATION

Block Input Signal name Category
WT1 Value table 1 default value SPS_G12_K1 PLC group 12
PLCG12 Value table 1 Wert 1 AU_Memory_1 Arithmetic unit
- Value table 1 Wert 2 AU_Compare_2 Arithmetic unit
- WT1_1 (Value 1) PosnLmp_On_Rq Interior CAN (CAN B), receive signals
- WT1_2 (Value 2) Term15R_Actv Interior CAN (CAN B), receive signals
- WT1_3 (Value 3) to WT1_4 (Value 4) Const_Bit_0 Constant
ARITHMETIC UNIT MEMORY (MEMORY 1), CONFIGURATION

Block Input Signal name Category Activation delay (20 ms steps)
Memory block 1 Memory_1_Value AU_Compare_2 Arithmetic unit 0
Arithmetic unit Memory_1_Enable MPMi_CAN_B_Awake Internal signals of parameterizable special module (PSM)  
ARITHMETIC UNIT RECHENBLOCK 1, CALCULATION OPERATION 1 (CALC 1), CONFIGURATION

Block Input Signal name Category Parameter Contents
Calc1 Calc_1_a SPS_G12_K1 PLC group 12 Arithmetic operation assignment Schritt 1
Arithmetic unit Calc_1_b Const_Bit_0 Constant Lim. High 10, 000
- Calc_1_c AU_Const_2 Arithmetic unit Lim. Low 0
- Calc_1_d Const_Bit_1 Constant Type "+/-" "+"
ARITHMETIC UNIT - FILTER 1, CALCULATION OPERATION 2 (F1), CONFIGURATION

Block Input Signal name Category Parameter Contents
Filter_1 Filter_1 AU_Calc1 Arithmetic unit Calculation assignment Schritt 2 (0)
Arithmetic unit - - - Model Ramp (1)
- - - - Filter stages/ramp increase 100
ARITHMETIC UNIT, CONSTANTS KB_1 AND PLC G12 KONSTANTE 1, CONFIGURATION

Block Parameter Contents
Const_G12 SPS_G12_K1 70
Const_AU AU_Const_1 5, 000
- AU_Const_2 100
MFA9 CONFIGURATION

Block Input Signal name Category Parameter Contents
MFA 9 MFA9_Eingang1 (Active) Const_Bit_1 Constant - -
- MFA9_Eingang2 (Const./pulse) Const_Bit_0 Constant Model Output (1)
- MFA9_Eingang3 (CutOffReset) Term15_Actv Interior CAN (CAN B), receive signals Reactivation attempts 1
- MFA9_Eingang4 (Cycle time) Const_Bit_0 Constant PWM type Frequency (0)
- MFA9_Eingang5 (Pulse time) Const_Bit_0 Constant - -
- MFA9_Eingang6 (PWM active) Const_Bit_1 Constant - -
- MFA9_Eingang7 (PWM period) AU_Const_1 Arithmetic unit - -
- MFA9_Eingang8 (PWM duty) AU_Filter_1 Arithmetic unit - -