LEMON Manuals: Even more car manuals for everyone: 1960-2025
Home >> Mercury >> 2000 >> Villager Base >> Repair and Diagnosis >> Body & Frame >> Windows >> Power Window System >> Component Tests >> Power Window Master Switch
April 5, 2026: LEMON Manuals is launched! Read the announcement.

Power Window Master Switch

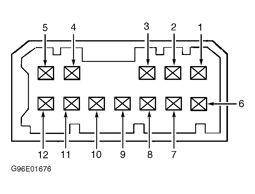
Disconnect power window master switch connector. Using an ohmmeter, measure resistance between indicated terminals with switch in specified position. See POWER WINDOW MASTER SWITCH RESISTANCE (FRONT POWER)  or POWER WINDOW MASTER SWITCH RESISTANCE (FRONT & REAR POWER)  table. See Fig 1 or Fig 2 . If resistance is not as specified, replace power window master switch.

POWER WINDOW MASTER SWITCH RESISTANCE (FRONT POWER)

Switch Position Terminals No. Ohms
Left Window Switch
Up 1 & 2; 6 & 7 Less Than 5
Down 1 & 7; 2 & 6 Less Than 5
Right Window Switch
Up 1 & 12; 6 & 11 Less Than 5
Down 1 & 11; 6 & 12 Less Than 5
POWER WINDOW MASTER SWITCH RESISTANCE (FRONT & REAR POWER)

Switch Position Terminals No. Ohms
Left Front Window Switch
Up 8 & 16; 13 & 15 Less Than 5
Down 8 & 13; 15 & 16 Less Than 5
Right Front Window Switch
Up 9 & 16; 10 & 13 Less Than 5
Down 9 & 13; 10 & 16 Less Than 5
Left Rear Window Switch
Open 5 & 16; 7 & 13 Less Than 5
Closed 5 & 13; 7 & 16 Less Than 5
Right Rear Window Switch
Open 1 & 16; 2 & 13 Less Than 5
Closed 1 & 13; 2 & 16 Less Than 5
Fig 1: Identifying Power Window Master Switch Terminals (Front Power)
G96E01676Courtesy of FORD MOTOR CO.
Fig 2: Identifying Power Window Master Switch Terminals (Front & Rear Power)
G99F08560Courtesy of FORD MOTOR CO.