LEMON Manuals: Even more car manuals for everyone: 1960-2025
Home >> Mercury >> 2005 >> Monterey >> Repair and Diagnosis (Single Page) >> Engine Performance >> System >> Engine Controls - Pinpoint Test DK: Accelerator Pedal Position Sensor Through Pinpoint Test DX: Engine Coolant Temperature (ECT) Sensor - (Except Diesel & Hybrid) >> Pinpoint Test DV: Throttle Body Assembly ETC >> Introduction >> Notes
April 5, 2026: LEMON Manuals is launched! Read the announcement.

Pinpoint Test DV: Throttle Body Assembly ETC: Introduction: Notes

WARNING: SUBSTANTIAL OPENING AND CLOSING TORQUE IS APPLIED BY THIS SYSTEM. TO PREVENT INJURY, BE CAREFUL TO KEEP FINGERS AWAY FROM THROTTLE MECHANISM WHEN ACTUATED.

This pinpoint test is intended to diagnose the following:

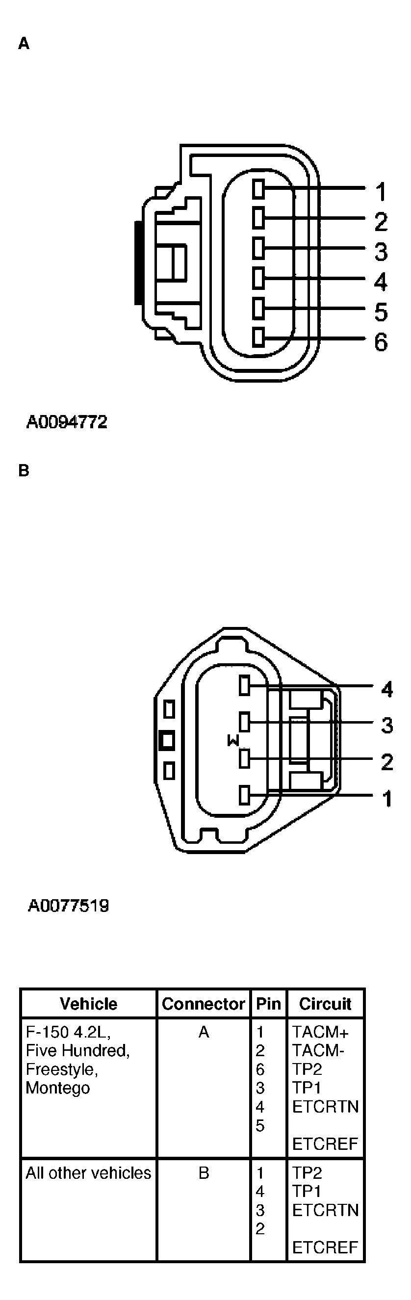
Fig 2: Electronic Throttle Body Throttle Actuator Control Motor (ETBTACM) Connector
G03878071Courtesy of FORD MOTOR CO.