LEMON Manuals: Even more car manuals for everyone: 1960-2025
Home >> Mercury >> 2007 >> Montego Base, AWD >> Repair and Diagnosis (Single Page) >> Transmission >> Automatic Trans >> Automatic Transmission - Continuously Variable Transmission (CVT) >> Disassembly And Assembly Of Subassemblies >> Variator/Chain and Spur Gear Assembly >> Disassembly
April 5, 2026: LEMON Manuals is launched! Read the announcement.

Variator/Chain and Spur Gear Assembly: Disassembly

WARNING: Correct handling of the variator chain during service repairs is critical to durability of the chain. Incorrect handling of the chain may cause damage to the chain and/or the variators during transaxle operation.
  • Do not put the chain in dirty or dusty areas. If the chain is to be out of the transmission for any length of time cover it with a lint free rag or other suitable material that will not deposit lint or foreign material on the chain.
  • Do not wash or clean the chain with water or other solvents. Only clean the chain with clean automatic transmission fluid.
  • Do not magnetize the chain.
  • Do not slide or drag the chain across other surfaces.
  • Do not drop the chain. The chain may become damaged if struck against a bench, fixture or other object.
    CAUTION: Inspect the variators and the chain for scratches, nicks or damage. If any damage is indicated, the installation of all 3 new components will be required.
    CAUTION: Do not overcompress the secondary variator. Do not exceed the torque specification listed. Damage to the tool or variator will occur.
    NOTE: When using the special tool, do not use any air tools to open the secondary variator. Transmission fluid will come out the top of the secondary variator. If the variator is opened too fast, fluid will squirt out from the top.
  1. Using the special tool, open the secondary variator in order to remove the chain guides, primary variator and chain.
    • Tighten to 7 Nm (62 lb-in).
  2. Fig 1: Identifying Special Tool (307-564)
    GF0017601Courtesy of FORD MOTOR CO.
  3. Remove both chain guides.
  4. Fig 2: Locating Chain Guides And Special Tools (307-564, 307-547-1)
    GF0017602Courtesy of FORD MOTOR CO.
    CAUTION: Do not let the variator chain hang free without some support. Damage to the chain will occur.
  5. Lift the primary variator up and move it over (toward the secondary variator on the special tool) in order to remove the chain and the primary variator.
  6. Fig 3: Locating Chain & Primary Variator
    GF0017603Courtesy of FORD MOTOR CO.
    CAUTION: Do not let the variator chain hang free without some support. Damage to the chain will occur.
    NOTE: While removing the primary variator it is acceptable to rest the chain on the primary variator portion of the special tool.
  7. With the chain resting on the special tool, carefully remove the primary variator.
  8. Fig 4: Locating Primary Variator
    GF0017604Courtesy of FORD MOTOR CO.
    CAUTION: Do not let the variator chain hang free without some support. Damage to the chain will occur.
    NOTE: While removing the primary variator it is acceptable to rest the chain on the primary variator portion of the special tool.
  9. Carefully remove the chain.
  10. Fig 5: Locating Variator Chain
    GF0017605Courtesy of FORD MOTOR CO.
  11. Do not hold the chain in a manner that will allow it to rub against itself.
  12. Fig 6: Precaution Do Not Allow Chain To Rub Against Itself
    GF0017606Courtesy of FORD MOTOR CO.
  13. For horizontal handling, always handle the chain with 2 hands, never allow either end to sag to one side.
  14. Fig 7: Precaution For - Horizontal Handling Chain
    GF0017607Courtesy of FORD MOTOR CO.
  15. It is acceptable to hold the chain in one hand and allow the chain to hang vertically from that hand.
  16. Fig 8: Holding Chain In One Hand
    GF0017608Courtesy of FORD MOTOR CO.
  17. Slowly release the special tool and remove it.
  18. Fig 9: Identifying Special Tools (307-564, 307-547-1)
    GF0017609Courtesy of FORD MOTOR CO.
  19. Remove the secondary variator assembly from the special tool.
  20. Fig 10: Locating Secondary Variator Assembly On Special Tool (307-547-1)
    GF0017610Courtesy of FORD MOTOR CO.
  21. Inspect the primary and secondary variator chain mating surfaces for nicks and gouges. Inspect the variator chain for damage. If any damage is indicated, the installation of all 3 variator components will be required.
  22. Fig 11: Inspecting Primary And Secondary Variator Chain Mating Surfaces
    GF0017611Courtesy of FORD MOTOR CO.
    NOTE: The spur gear is model dependent. If installing a new variator assembly the spur will need to be transferred to the new variator assembly.
    NOTE: It may be necessary to press the gear down slightly in order to remove the spur snap ring.
  23. Remove and discard the snap ring.
  24. Fig 12: Locating Snap Ring
    GF0017612Courtesy of FORD MOTOR CO.
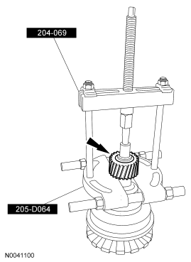
  25. Using the special tools, remove the spur gear.
  26. Fig 13: Removing Spur Gear
    GF0017613Courtesy of FORD MOTOR CO.