LEMON Manuals: Even more car manuals for everyone: 1960-2025
Home >> Mercury >> 2007 >> Montego Base, FWD >> Repair and Diagnosis (Single Page) >> Engine Performance >> System >> Engine Controls - Pinpoint Test Hg: Positive Crankcase Ventilation (PCV) System Through Pinpoint Test JD: Crankshaft Position (CKP) Sensor - (Except Diesel & Hybrid) >> PINPOINT TEST HH: Exhaust Gas Recirculation System Module (ESM) >> Introduction
April 5, 2026: LEMON Manuals is launched! Read the announcement.

PINPOINT TEST HH: Exhaust Gas Recirculation System Module (ESM): Introduction

This pinpoint test is intended to diagnose the following:

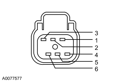
Fig 1: EGR System Module (ESM) Connector
GF0001484
Pin Circuit
1 EVR (EGR Vacuum Regulator)
4 VPWR (Vehicle Power)
6 SIGRTN (Signal Return)
5 DPFE (Differential Pressure Feedback EGR)
2 VREF (Reference Voltage)

Powertrain Control Module (PCM) Connector 

For PCM connector views or reference values, refer to the REFERENCE VALUES article.

Vehicle Connector Pin Circuit
E-Series 170 Pin E63
E58
E57
E58
E21
EVR
SIGRTN
VREF
SIGRTN
DPFE
F-150 190 Pin E63
E58
B29, E57
B58, E58, T43
E21
EVR
SIGRTN
VREF
SIGRTN
DPFE
Five Hundred,
Freestyle,
Montego
150 (50-50-50) Pin E6
E41
E40
B41, E41
E44
EVR
SIGRTN
VREF
SIGRTN
DPFE
Freestar/Monterey 104 Pin 47
91
90
91
65
EVR
SIGRTN
VREF
SIGRTN
DPFE
Mustang 170 Pin E63
E58
B40, E57
B41, E58, T41
E21
EVR
SIGRTN
VREF
SIGRTN
DPFE
All other vehicles 170 Pin E63
E58
E57
B41, E58, T41
E21
EVR
SIGRTN
VREF
SIGRTN
DPFE