LEMON Manuals: Even more car manuals for everyone: 1960-2025
Home >> Mercury >> 2009 >> Sable Base, AWD >> Repair and Diagnosis >> External Pages >> Different car >> Section 973 (Information System And Entertainment System) >> Diagnostic Tests >> Information and Entertainment System >> Pinpoint Test >> Pinpoint Test D: The Subwoofer is Inoperative >> Pinpoint Test D: The Subwoofer Is Inoperative
April 5, 2026: LEMON Manuals is launched! Read the announcement.

Pinpoint Test D: The Subwoofer Is Inoperative

WARNING: This page is about a different car, the 2007 Mercury Mariner and 2007 Ford Escape. However, it is still accessible from the selected car via links, so may be relevant.
  1. D1 CHECK CIRCUIT 174 (GY/BK) FOR VOLTAGE 
    • Key in OFF position.
    • Disconnect: Subwoofer Amplifier C466
    • Key in ON position.
    • Turn the audio unit on.
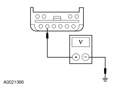
    • Fig 1: Checking Circuit For Voltage
      GF0001364Courtesy of FORD MOTOR CO.
    • Measure the voltage between the subwoofer amplifier C466-1, circuit 174 (GY/BK), harness side and ground.
    • Is the voltage greater than 4.1 volts? 
    1. YES  : Go to  D2.
    2. NO  : Go to  D7.
  2. D2 CHECK CIRCUIT 720 (RD/YE) FOR VOLTAGE 
    • Key in OFF position.
    • Fig 2: Checking Circuit For Voltage
      GF0004539Courtesy of FORD MOTOR CO.
    • Measure the voltage between the subwoofer amplifier C466-5, circuit 720 (RD/YE), harness side and ground.
    • Is the voltage greater than 10 volts? 
    1. YES  : Go to  D3.
    2. NO  : VERIFY the smart junction box (SJB) fuse 16 (15A) is OK. If OK, REPAIR the circuit. TEST the system for normal operation.
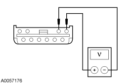
  3. D3 CHECK CIRCUIT 694 (BK/LG) FOR AN OPEN 
      Fig 3: Checking Circuit For Open
      GF0001363Courtesy of FORD MOTOR CO.
    • Measure the resistance between the subwoofer amplifier C466-2, circuit 694 (BK/LG), harness side and ground.
    • Is the resistance less than 5 ohms? 
    1. YES  : Go to  D4.
    2. NO  : REPAIR the circuit. TEST the system for normal operation.
  4. D4 CHECK FOR AN OUTPUT SIGNAL FROM THE AUDIO UNIT 
    • Key in ON position.
    • Turn the audio unit on.
    • Fig 4: Checking Audio Signal Output
      GF0004542Courtesy of FORD MOTOR CO.
    • Measure the AC voltage between the subwoofer amplifier C466-7, circuit 169 (LG/BK), harness side and the subwoofer amplifier C466-8, circuit 172 (LB/RD), harness side.
    • Is there a fluctuating AC voltage? 
    1. YES  : Go to  D5.
    2. NO  : Go to  D6.
  5. D5 CHECK THE AMPLIFIER OUTPUT 
    • Key in OFF position.
    • Connect: Subwoofer Amplifier C466
    • Operate the audio unit in radio turner mode.
    • Measure the AC voltage by backprobing between the subwoofer speaker output circuits at the subwoofer amplifier.
    • Is a fluctuating AC voltage present? 
    1. YES  : INSTALL a new subwoofer speaker. REFER to Speaker Enclosure . TEST the system for normal operation.
    2. NO  : INSTALL a new subwoofer amplifier. REFER to Subwoofer Amplifier . TEST the system for normal operation.
  6. D6 CHECK CIRCUITS 172 (LB/RD) AND 169 (LG/BK) FOR AN OPEN OR SHORT TO GROUND 
    • Key in OFF position.
    • Disconnect: Audio Unit C290b
    • Measure the resistance between the subwoofer amplifier, harness side and the audio unit, harness side; and between the subwoofer amplifier, harness side and ground as follows:
      Subwoofer Amplifier Connector-Pin Audio Unit Connector-Pin or Ground Circuit
      C466-7 C240b-1 169 (LG/BK)
      C466-7 Ground 169 (LG/BK)
      C466-8 C240b-2 172 (LB/RD)
      C466-8 Ground 172 (LB/RD)
    • Is the resistance less than 5 ohms between the subwoofer amplifier and the audio unit, and greater than 10,000 ohms between the subwoofer amplifier and ground? 
    1. YES  : SEND the audio unit to an authorized audio system repair facility. TEST the system for normal operation after the repair.
    2. NO  : REPAIR the circuit. TEST the system for normal operation.
  7. D7 CHECK CIRCUIT 174 (GY/BK) FOR AN OPEN OR SHORT TO GROUND 
    • Key in OFF position.
    • Disconnect: Audio Unit C240b
    • Fig 5: Checking Circuit For Open Or Short To Ground
      GF0004541Courtesy of FORD MOTOR CO.
    • Measure the resistance between the subwoofer amplifier C466-1, circuit 174 (GY/BK), harness side and the audio unit C240b-4, circuit 174 (GY/BK), harness side; and between the subwoofer amplifier C466-1, circuit 174 (GY/BK), harness side and ground.
    • Is the resistances less than 5 ohms between the connectors, and greater than 10,000 ohms between the subwoofer amplifier and ground? 
    1. YES  : SEND the audio unit to an authorized audio system repair facility. TEST the system for normal operation after the repair.
    2. NO  : REPAIR the circuit. TEST the system for normal operation.