LEMON Manuals: Even more car manuals for everyone: 1960-2025
Home >> Mercury >> 2009 >> Sable Base, FWD >> Repair and Diagnosis >> External Pages >> Different car >> Section 1318 (Automatic Transmission External Controls) >> Diagnostic Tests >> External Controls >> Pinpoint Tests >> Pinpoint Test C: The Transmission Control (TC) Switch Is Inoperative
April 5, 2026: LEMON Manuals is launched! Read the announcement.

Pinpoint Test C: The Transmission Control (TC) Switch Is Inoperative

WARNING: This page is about a different car, the 2009 Ford Mustang. However, it is still accessible from the selected car via links, so may be relevant.
  1. C1 CHECK THE VOLTAGE TO THE TRANSMISSION CONTROL (TC) SWITCH 
    • Key in OFF position.
    • Disconnect: Selector Lever C307
    • Key in ON position.
    • Fig 1: Measuring Voltage Between Selector Lever C307-5, Circuit 1862 (VT/WH), Harness Side & Ground
      GF0000988Courtesy of FORD MOTOR CO.
    • Measure the voltage between selector lever C307-5, circuit 1862 (VT/WH), harness side, and ground.
    • Is the voltage greater than 10 volts? 
    1. YES  : Go to  C2.
    2. NO  : REPAIR the circuit. TEST the system for normal operation.
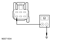
  2. C2 CHECK THE TC SWITCH 
      Fig 2: Measuring Resistance Between Selector Lever C307-5 & C307-6, Component Side
      GF0000989Courtesy of FORD MOTOR CO.
    • Measure the resistance between selector lever C307-5 and C307-6, component side, while depressing and releasing the TC switch.
    • Is the resistance less than 5 ohms with the TC switch depressed and greater than 10,000 ohms with the TC switch released? 
    1. YES  : Go to  C3.
    2. NO  : INSTALL a new selector lever knob. TEST the system for normal operation.
  3. C3 CHECK CIRCUIT 224 (TN/WH) FOR AN OPEN 
    • Key in OFF position.
    • Disconnect: PCM C175B
    • Fig 3: Checking Circuit 224 (TN/WH) For An Open
      GF0046431Courtesy of FORD MOTOR CO.
    • Measure the resistance between selector lever C307-6, circuit 224 (TN/WH), harness side and PCM C175B-29, circuit 224 (TN/WH), harness side.
    • Is the resistance less than 5 ohms? 
    1. YES  : Go to  C4.
    2. NO  : REPAIR the circuit. TEST the system for normal operation.
  4. C4 CHECK CIRCUIT 224 (TN/WH) FOR A SHORT TO GROUND 
      Fig 4: Checking Circuit 224 (TN/WH) For A Short To Ground
      GF0046432Courtesy of FORD MOTOR CO.
    • Measure the resistance between selector lever C307-6, circuit 224 (TN/WH), harness side and ground.
    • Is the resistance greater than 10,000 ohms? 
    1. YES  : INSTALL a new PCM. REFER to ELECTRONIC ENGINE CONTROLS article. TEST the system for normal operation.
    2. NO  : REPAIR the circuit. TEST the system for normal operation.