LEMON Manuals: Even more car manuals for everyone: 1960-2025
Home >> Mini >> 2009 >> Cooper Base, 2D Convertible, Automatic >> Repair and Diagnosis (Single Page) >> External Pages >> Different car >> Section 3473 (General Electrical System - Repair (ACTIVEHYBRID)) >> Plug Connection, Terminal, Fuse Box >> 61 13... Crimping stop parts
April 5, 2026: LEMON Manuals is launched! Read the announcement.

61 13... Crimping stop parts

WARNING: This page is about a different car, the 2011 BMW X6 and 2010 BMW X6. However, it is still accessible from the selected car via links, so may be relevant.

Special tools required: 

Crimping contact sleeves for 4 mm 2  comb connectors and ignition cable contacts: 

Use special tool kit 12 1 080 to attach ignition cable contacts and crimp 4 mm2 contact sleeves for comb connectors.

See Repair Instructions 

SPECIAL TOOLS FOR WIRING HARNESS REPAIRS. 

Fig 1: Identifying Hand Pliers (12 1 081) And Nest (12 1 083)
G08573761Courtesy of BMW OF NORTH AMERICA, INC.

Release special tool 12 1 081:

Squeeze grips (1) lightly and push release lever (2) in direction of arrow.

Or:

Compress handles until limit position, hand pliers unlock automatically.

Fig 2: Pushing Release Lever
G08573762Courtesy of BMW OF NORTH AMERICA, INC.

Place 4 mm2 contact sleeve in nest with anti-twist safeguard (1) as far as possible.

Fig 3: Locating Nest With Anti-Twist Safeguard
G08573763Courtesy of BMW OF NORTH AMERICA, INC.

Preload contact by squeezing matrix in crimping tool. Grip contact (1) firmly only, do not crimp.

Fig 4: Identifying Crimping Tool Grip Contact
G08573764Courtesy of BMW OF NORTH AMERICA, INC.
NOTE: Follow procedure for CUTTING AND STRIPPING INSULATION  from cables.

Insert stripped end of wire (7) in the contact. Ensure insulation and stripped wire end are correctly laid in contact.

Compress crimping tool to limit position.

Crimping tool unlocks automatically.

Take contact out of crimping tool.

Fig 5: Inserting Stripped End Of Wire In Contact
G08573765Courtesy of BMW OF NORTH AMERICA, INC.

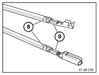
4. Checking crimping

Check insulation crimping (8) and wire crimp (9) against following illustrations to ensure crimps are correctly located.

NOTE: Illustration shows butt connectors and contact sleeves for comb connectors knocked on one side. The crimping procedure is identical here.
Fig 6: Identifying Insulation Crimping And Wire Crimp
G08573766Courtesy of BMW OF NORTH AMERICA, INC.

Correct crimping: 

Visible conductor end (10).

Visible insulation end (11).

Fig 7: Identifying Correct Crimping Of Conductor End And Insulation End
G08573767Courtesy of BMW OF NORTH AMERICA, INC.

Incorrect crimping: 

Conductor end (10) inserted too far.

Insulation end (11) in wire crimp.

If necessary, repeat crimping with a new contact.

Fig 8: Identifying Incorrect Crimping Of Visible Conductor End And Insulation End
G08573768Courtesy of BMW OF NORTH AMERICA, INC.

Incorrect crimping: 

Conductor end (10) not visible.

Insulation end (11) not visible.

If necessary, repeat crimping with a new contact.

Fig 9: Identifying Incorrect Crimping Of Conductor End And Insulation End
G08573769Courtesy of BMW OF NORTH AMERICA, INC.