LEMON Manuals: Even more car manuals for everyone: 1960-2025
Home >> Mini >> 2009 >> Cooper Base, 2D Convertible, Standard >> Repair and Diagnosis >> External Pages >> Different car >> Section 2995 (Steering And Wheel Alignment - Repair) >> Pump And Oil Supply >> 32 41... Notes on hydraulic line with quick-connect coupling >> 1) Quick-connect coupling with ID marking
April 5, 2026: LEMON Manuals is launched! Read the announcement.

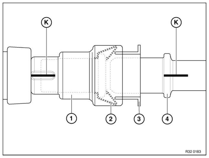
1) Quick-connect coupling with ID marking

WARNING: This page is about a different car, the 2013 BMW 550i GT, 2012 BMW 550i GT, 2011 BMW 550i GT, and 2010 BMW 550i GT. However, it is still accessible from the selected car via links, so may be relevant.
Fig 1: Identifying Quick-Connect Coupling With ID Marking
G08420968Courtesy of BMW OF NORTH AMERICA, INC.