LEMON Manuals: Even more car manuals for everyone: 1960-2025
Home >> Mini >> 2012 >> Cooper Base, 2D Convertible, Automatic Trans >> Repair and Diagnosis >> External Pages >> Different car >> Section 1274 (Steering And Wheel Alignment - Repair) >> Pump And Oil Supply >> 32 41... Notes on hydraulic line with quick-connect coupling
April 5, 2026: LEMON Manuals is launched! Read the announcement.

32 41... Notes on hydraulic line with quick-connect coupling

WARNING: This page is about a different car, the 2010 BMW M5, 2009 BMW M5, 2008 BMW M5, 2007 BMW M5, and 2006 BMW M5. However, it is still accessible from the selected car via links, so may be relevant.
  1. Quick-connect coupling with ID marking 

    Removing: 

    Push quick-connect coupling (1) against pipe (4) (thereby relieving strain on spring (2)).

    Press plastic ring (3) into quick-connect coupling (1) and remove coupling (1).

    Assembly: 

    Markings (K) on coupling (1) and pipe (4) must be flush.

    Push quick-connect coupling (1) onto pipe (4) until a "click" can clearly be heard.

    To check that quick-connect coupling (1) has been installed correctly, pull it back forcefully.

    Fig 1: Identifying Quick-Connect Coupling
    G04726408Courtesy of BMW OF NORTH AMERICA, INC.
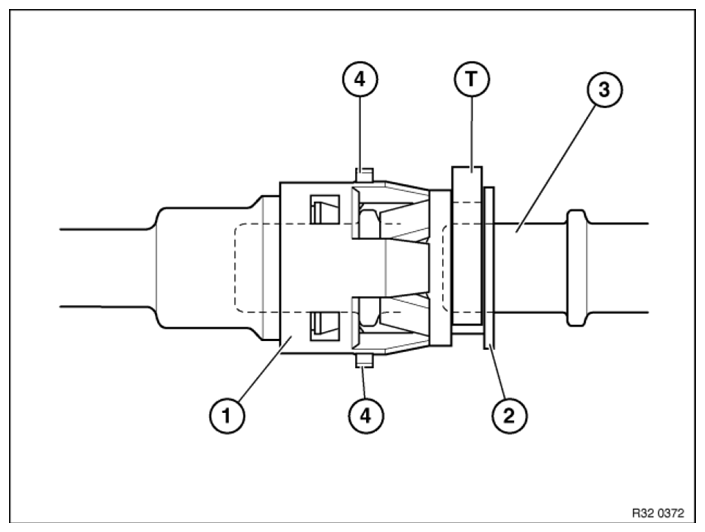
  2. Quick-connect coupling with indication pins 

    Removing: 

    Press plastic ring (2) into quick-connect coupling (1) and remove coupling (1).

    Assembly: 

    When replacing hydraulic line: remove transportation lock (T).

    Push quick-connect coupling (1) onto pipe (3) until both indication pins (4) can be seen and felt to point outwards at outside diameter of housing.

    To check that quick-connect coupling (1) has been correctly fitted, feel indication pins (4) at outside diameter of housing. When correctly seated, indication pins (4) cannot be pressed into housing.

    IMPORTANT: Coupling is not correctly engaged if both indication pins (4) fail to protrude from housing. Leakage is thus unavoidable.
  3. Fig 2: Identifying Quick-Connect Coupling With Indication Pins
    G08527834Courtesy of BMW OF NORTH AMERICA, INC.