LEMON Manuals: Even more car manuals for everyone: 1960-2025
Home >> Mini >> 2012 >> Cooper Base, 2D Convertible, Automatic Trans >> Repair and Diagnosis >> External Pages >> Different car >> Section 1574 (General Electrical System - Repair) >> 13 Plug Connection, Terminal, Fuse Box >> 61 13.. Unlocking And Disconnecting Different Plug Connections
April 5, 2026: LEMON Manuals is launched! Read the announcement.

61 13.. Unlocking And Disconnecting Different Plug Connections

WARNING: This page is about a different car, the 2010 BMW X5, 2009 BMW X5, 2008 BMW X5, and 2007 BMW X5. However, it is still accessible from the selected car via links, so may be relevant.
NOTE: Examples of unlocking and disconnecting different plug connections.

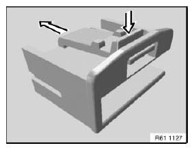
Press lock and open clip in direction of arrow.

Disconnect plug connection.

Fig 1: Pressing Lock
G04753217Courtesy of BMW OF NORTH AMERICA, INC.

Press lock and open clip in direction of arrow.

Disconnect plug connection.

Fig 2: Opening Clip
G04753218Courtesy of BMW OF NORTH AMERICA, INC.

Open clip in direction of arrow and disconnect plug connection in direction of arrow.

Fig 3: Disconnecting Plug Connection
G04753219Courtesy of BMW OF NORTH AMERICA, INC.

Press lock and disconnect plug connection in direction of arrow.

Fig 4: Disconnecting Plug Connection
G04753220Courtesy of BMW OF NORTH AMERICA, INC.

Press lock and disconnect plug connection in direction of arrow.

Fig 5: Pressing Lock
G04753221Courtesy of BMW OF NORTH AMERICA, INC.

Press lock and disconnect plug connection in direction of arrow.

Fig 6: Disconnecting Plug Connection
G04753222Courtesy of BMW OF NORTH AMERICA, INC.

Press lock and disconnect plug connection in direction of arrow.

Fig 7: Pressing Lock
G04753223Courtesy of BMW OF NORTH AMERICA, INC.

Press lock and disconnect plug connection in direction of arrow.

Fig 8: Disconnecting Plug Connection
G04753224Courtesy of BMW OF NORTH AMERICA, INC.

Press lock and disconnect plug connection in direction of arrow.

Fig 9: Disconnecting Plug Connection
G04753225Courtesy of BMW OF NORTH AMERICA, INC.