LEMON Manuals: Even more car manuals for everyone: 1960-2025
Home >> Mini >> 2012 >> Cooper Base, 2D Convertible, Standard Trans >> Repair and Diagnosis >> External Pages >> Different car >> Section 93 (Power Steering System - Repair) >> Removal & Installation >> Hydraulic Line With Quick-Release Coupling >> Removal & Installation of Quick-Release Coupling with ID Marking
April 5, 2026: LEMON Manuals is launched! Read the announcement.

Removal & Installation of Quick-Release Coupling with ID Marking

WARNING: This page does not describe the selected car, but rather 48 other vehicles, including the 2006 BMW M3, 2006 BMW 330xi, 2006 BMW 330Ci, 2006 BMW 325xi, and 2006 BMW 325Ci. However, it is still accessible from the selected car via links, so may be relevant.
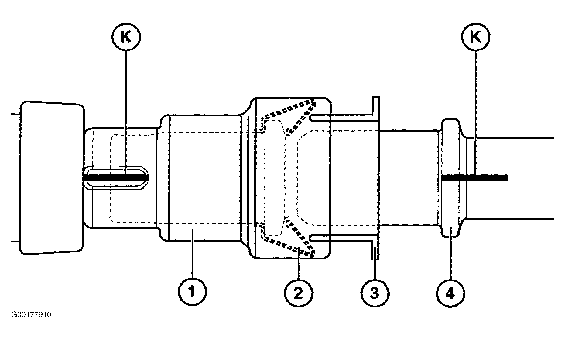
  1. Push quick-release coupling (1) against pipe (4) thereby relieving strain on spring (2). Press plastic ring (3) into quick-release coupling (1) and remove coupling (1). See Fig 1.
  2. To install, markings (K) on coupling and pipe (4) must be flush. Push quick-release coupling (1) onto pipe (4) until a "click" can be heard. To check that quick-release coupling has been installed correctly, pull it back forcefully.
Fig 1: Identifying Quick Release Coupling With ID Marking
G00177910Courtesy of BMW OF NORTH AMERICA, INC.