LEMON Manuals: Even more car manuals for everyone: 1960-2025
Home >> Mini >> 2013 >> Cooper Base, 2D Convertible, Automatic Trans >> Repair and Diagnosis >> External Pages >> Different car >> Section 3355 (General Electrical System - Repair) >> Plug Connection, Terminal, Fuse Box >> 61 13... Crimping stop parts >> Checking crimping
April 5, 2026: LEMON Manuals is launched! Read the announcement.

Checking crimping

WARNING: This page is about a different car, the 2013 BMW 550i GT, 2012 BMW 550i GT, 2011 BMW 550i GT, and 2010 BMW 550i GT. However, it is still accessible from the selected car via links, so may be relevant.

Check insulation crimping (8) and wire crimp (9) against following illustrations to ensure crimps are correctly located.

NOTE: Illustration shows butt connectors and contact sleeves for comb connectors knocked on one side. The crimping procedure is identical here.
Fig 1: Identifying Insulation Crimping And Wire Crimp
G04753264Courtesy of BMW OF NORTH AMERICA, INC.

Correct crimping: 

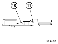
Visible conductor end (10).

Visible insulation end (11).

Fig 2: Identifying Conductor And Insulation End
G04753265Courtesy of BMW OF NORTH AMERICA, INC.

Incorrect crimping: 

Conductor end (10) inserted too far.

Insulation end (11) in wire crimp.

If necessary, repeat crimping with a new contact.

Fig 3: Identifying Improper Wire Crimping
G04753266Courtesy of BMW OF NORTH AMERICA, INC.

Incorrect crimping: 

Conductor end (10) not visible.

Insulation end (11) not visible.

If necessary, repeat crimping with a new contact.

Fig 4: Identifying Improper Wire Crimping
G04753267Courtesy of BMW OF NORTH AMERICA, INC.