LEMON Manuals: Even more car manuals for everyone: 1960-2025
Home >> Mini >> 2023 >> Cooper Base, 2D Convertible, Standard Trans >> Repair and Diagnosis (Single Page) >> Steering >> Steering Column >> Steering And Wheel Alignment -- Repair (F57) >> 32 00 Wheel Alignment >> General information and definitions
April 5, 2026: LEMON Manuals is launched! Read the announcement.

General information and definitions

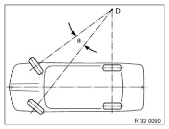
Toe difference angle 

a Toe difference angle

D Center point of operating circle

The track angle difference is the angle adjustment of the inside cornering wheel relative to the outer cornering wheel when negotiating a curve. Steering is designed in such a way that angular position of wheels changes as steering lock progresses.

A correctly adjusted track angle difference produces equal values for left and right lock with consideration of factory tolerances.

Track angle difference provides information on corresponding operation of steering trapezoid for left or right steering lock from center position.

G15913047Courtesy of BMW OF NORTH AMERICA, INC.

Camber 

Inclination of the wheel from the perpendicular.

G04757489Courtesy of BMW OF NORTH AMERICA, INC.

Track 

Reduction in distance of front of front wheels to rear of front wheels. The toe-in prevents the wheels from shifting apart during driving and thus:

Measurement is performed in "straight-ahead mode".

G10141060Courtesy of BMW OF NORTH AMERICA, INC.

Caster 

Is the inclination of the kingpin in the direction of travel viewed from the side. The line through the center point of the spring strut support bearing and the control arm ball joint corresponds to the "kingpin".

Thanks to caster, wheels are pulled and not pushed. In a similar manner to king pin inclination, when driving in curves or around corners, returning forces are reproduced to help return wheels to straight-ahead position.

G10141061Courtesy of BMW OF NORTH AMERICA, INC.

Geometrical driving axis 1 

Is the angle bisector from the total rear-wheel track.

Front-wheel measurements are taken in reference to this axis.

Symmetrical axis 2 

Center line running through front and rear axles.

G13822874Courtesy of BMW OF NORTH AMERICA, INC.

Wheel misalignment 

Angle by which one front wheel is displaced more towards front or rear than the other front wheel. The wheel offset angle is positive when the right wheel is displaced towards the front and negative when it is displaced towards the rear.

G10141063Courtesy of BMW OF NORTH AMERICA, INC.

King-pin offset/scrub radius 

Is the distance from the center of the wheel contact face to the intersection point of the kingpin extension. The line through the center point of the spring strut support bearing and the control arm ball joint corresponds to the "kingpin".

The scrub radius is influenced by camber, kingpin angle and wheel offset of the wheel rim.

G13822876Courtesy of BMW OF NORTH AMERICA, INC.