LEMON Manuals: Even more car manuals for everyone: 1960-2025
Home >> Mitsubishi >> 2003 >> Lancer ES, Automatic >> Repair and Diagnosis >> Transmission >> Automatic Trans >> Diagnostic Trouble Code Procedures - Except Evolution >> DTC >> DTC 16: A/T Fluid Temperature Sensor System (Short Circuit) >> Diagnosis
April 5, 2026: LEMON Manuals is launched! Read the announcement.

DTC 16: A/T Fluid Temperature Sensor System (Short Circuit): Diagnosis

Required Special Tool: 

  1. MB991502: Scan Tool (MUT-II)
  1. STEP 1. Using scan tool MB991502, check data list item 15: A/T Fluid Temperature Sensor. 
    CAUTION: To prevent damage to scan tool MB991502, always turn the ignition switch to the "LOCK" (OFF) position before connecting or disconnecting scan tool MB991502.
    1. Connect scan tool MB991502 to the data link connector.
      Fig 1: Connecting Scan Tool To Data Link Connector
      G01876255Courtesy of MITSUBISHI MOTOR SALES OF AMERICA.
    2. Start the engine.
    3. Set scan tool MB991502 to data reading mode for item 15, A/T Fluid Temperature Sensor.
      • When the engine is cool: Almost equal to the ambient temperature (atmospheric temperature)
        NOTE: Set scan tool MB991502 to data reading mode for item number 13, Intake Air Temperature (IAT) Sensor and note the temperature measurement. When the engine is cool, the temperature should be almost equal to the ambient temperature (atmospheric temperature), and the IAT sensor measurement should be approximately the same as the A/T Fluid Temperature Sensor.
      • When the engine is warm: 70 to 80°C (158 to 176°F)
    4. Turn the ignition switch to the "LOCK" (OFF) position.

    Q: Is the sensor operating properly? 

    1. YES:  It can be assumed that this malfunction is intermittent.
    2. NO:  Go to Step 2.
  2. STEP 2. Measure the sensor output voltage at the A/T control solenoid valve assembly connector B-15 by backprobing. 
    Fig 2: Measuring Sensor Output Voltage At A/T Control Solenoid Valve Assembly Connector B-15
    G01876256Courtesy of MITSUBISHI MOTOR SALES OF AMERICA.
    1. Do not disconnect connector B-15.
    2. Turn the ignition switch to the "ON" position.
    3. Measure the voltage between terminal 1 and ground by backprobing.
      • When A/T fluid temperature is 20°C (68°F), voltage should measure between 3.8 and 4.0 volts.
      • When A/T fluid temperature is 40°C (104°F), voltage should measure between 3.2 and 3.4 volts.
      • When A/T fluid temperature is 80°C (176°F), voltage should measure between 1.7 and 1.9 volts.
      Fig 3: Measuring Voltage Between Terminal 1 & Ground
      G01876257Courtesy of MITSUBISHI MOTOR SALES OF AMERICA.
    4. Turn the ignition switch to the "LOCK" (OFF) position.

    Q: Is the measured voltage within the specified range? 

    1. YES:  Go to  Step 6 .
    2. NO:  Go to Step 3.
  3. STEP 3. Check A/T control solenoid valve assembly connector B-15 for loose, corroded or damaged terminals, or terminals pushed back in the connector. 
    Fig 4: Checking A/T Control Solenoid Valve Assembly Connector B-15
    G01876258Courtesy of MITSUBISHI MOTOR SALES OF AMERICA.

    Q: Are the connector and terminals in good condition? 

    1. YES:  Go to Step 4.
    2. NO:  Repair or replace the damaged components.
  4. STEP 4. Check the sensor output voltage at A/T control solenoid valve assembly connector B-15. 
    1. Disconnect connector B-15 and measure at the harness side.
      Fig 5: Disconnecting Connector B-15 & Measuring At Harness Side
      G01876259Courtesy of MITSUBISHI MOTOR SALES OF AMERICA.
    2. Turn the ignition switch to the "ON" position.
    3. Measure the voltage between terminal 1 and ground.
      • The voltage should measure between 4.5 and 4.9 volts.
      Fig 6: Measuring Voltage Between Terminal 1 & Ground
      G01876260Courtesy of MITSUBISHI MOTOR SALES OF AMERICA.
    4. Turn the ignition switch to the "LOCK" (OFF) position.

    Q: Is the measured voltage between 4.5 and 4.9 volts? 

    1. YES:  Go to Step 5.
    2. NO: Go to  Step 7 .
  5. STEP 5. Check the A/T fluid temperature sensor at A/T control solenoid valve assembly connector B-15. 
    1. Disconnect connector B-15 and measure at the sensor side.
      Fig 7: Disconnecting Connector B-15 & Measuring At Sensor Side
      G01876261Courtesy of MITSUBISHI MOTOR SALES OF AMERICA.
    2. Measure the resistance between terminal 1 and 2.
      • When A/T fluid temperature is 0°C (32°F), resistance should be between 16.7 and 20.5 kohm.
      • When A/T fluid temperature is 20°C (68°F), resistance should be between 7.3 and 8.9 kohm.
      • When A/T fluid temperature is 40°C (104°F), resistance should be between 3.4 and 4.2 kohm
      • When A/T fluid temperature is 60°C (140°F), resistance should be between 1.9 and 2.2 kohm.
      • When A/T fluid temperature is 80°C (176°F), resistance should be between 1.0 and 1.2 kohm.
      • When A/T fluid temperature is 100°C (212°F), resistance should be between 0.57 and 0.69 kohm.
      Fig 8: Measuring Resistance Between Terminal 1 & 2
      G01876262Courtesy of MITSUBISHI MOTOR SALES OF AMERICA.

    Q: Is the measured resistance within the specified range? 

    1. YES:  Go to Step 6.
    2. NO:  Replace the A/T fluid temperature sensor.TRANSAXLE .
  6. STEP 6. Using scan tool MB991502, check data list item 15: A/T Fluid Temperature Sensor. 
    CAUTION: To prevent damage to scan tool MB991502, always turn the ignition switch to the "LOCK"(OFF) position before connecting or disconnecting scan tool MB991502.
    1. Connect scan tool MB991502 to the data link connector.
      Fig 9: Connecting Scan Tool To Data Link Connector
      G01876263Courtesy of MITSUBISHI MOTOR SALES OF AMERICA.
    2. Start the engine.
    3. Set scan tool MB991502 to data reading mode for item 15, A/T Fluid Temperature Sensor.
      • When the engine is cool: Almost equal to the ambient temperature (atmospheric temperature)
        NOTE: Set scan tool MB991502 to data reading mode for item number 13, Intake Air Temperature (IAT) Sensor and note the temperature measurement. When the engine is cool, the temperature should be almost equal to the ambient temperature (atmospheric temperature), and the IAT sensor measurement should be approximately the same as the A/T Fluid Temperature Sensor.
      • When the engine is warm: 70 to 80°C (158 to 176°F)
    4. Turn the ignition switch to the "LOCK" (OFF) position.

    Q: Is the sensor operating properly? 

    1. YES:  It can be assumed that this malfunction is intermittent.
    2. NO:  Replace the PCM.
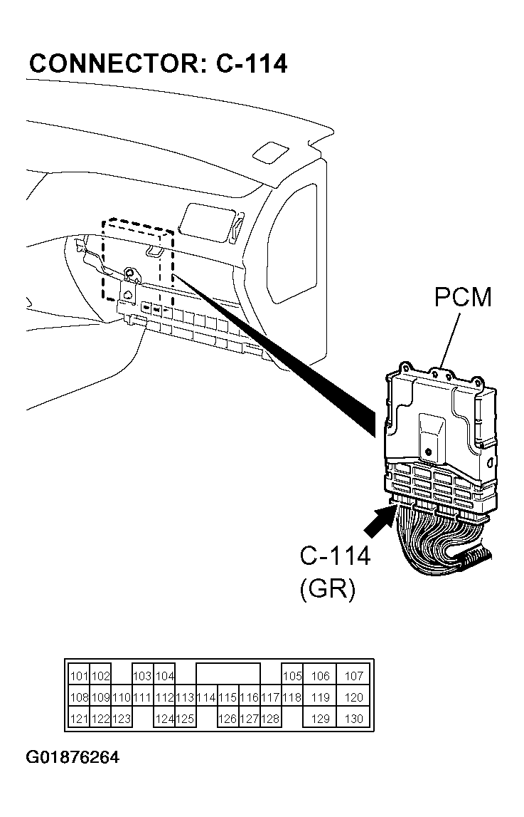
  7. STEP 7. Measure the sensor output voltage at PCM connector C-114 by backprobing. 
    Fig 10: Measuring Sensor Output Voltage At PCM Connector C-114
    G01876264Courtesy of MITSUBISHI MOTOR SALES OF AMERICA.
    1. Do not disconnect connector C-114.
    2. Turn the ignition switch to the "ON" position.
    3. Measure the voltage between terminal 124 and ground by backprobing.
      • When A/T fluid temperature is 20°C (68°F), voltage should measure between 3.8 and 4.0 volts.
      • When A/T fluid temperature is 40°C (104°F), voltage should measure between 3.2 and 3.4 volts.
      • When A/T fluid temperature is 80°C (176°F), voltage should measure between 1.7 and 1.9 volts.
      Fig 11: Measuring Voltage Between Terminal 124 & Ground
      G01876265Courtesy of MITSUBISHI MOTOR SALES OF AMERICA.
    4. Turn the ignition switch to the "LOCK" (OFF) position.

    Q: Is the measured voltage within the specified range? 

    1. YES:  Go to  Step 6 .
    2. NO:  Go to Step 8.
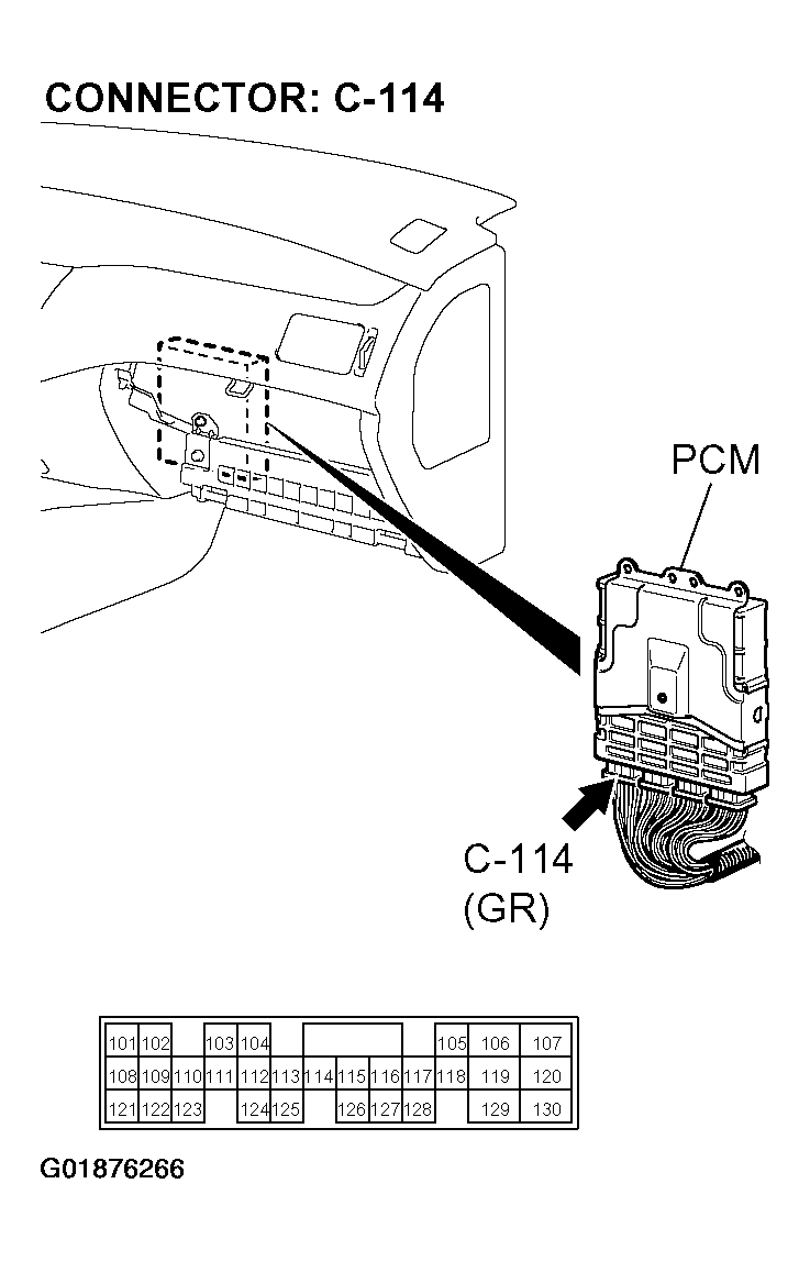
  8. STEP 8. Check PCM connector C-114 for loose, corroded or damaged terminals, or terminals pushed back in the connector. 
    Fig 12: Checking PCM Connector C-114
    G01876266Courtesy of MITSUBISHI MOTOR SALES OF AMERICA.

    Q: Are the connector and terminals in good condition? 

    1. YES:  Go to Step 9.
    2. NO:  Repair or replace the damaged components.
  9. STEP 9. Check the harness for a short circuit to ground between A/T control solenoid valve connector B-15 terminal 1 and PCM connector C-114 terminal 124. 
    Fig 13: Checking Harness For Short Circuit To Ground For A/T Control Solenoid Valve Connector B-15
    G01876267Courtesy of MITSUBISHI MOTOR SALES OF AMERICA.
    Fig 14: Checking Harness For Short Circuit To Ground For PCM Connector C-114
    G01876268Courtesy of MITSUBISHI MOTOR SALES OF AMERICA.

    Q: Is the harness wire in good condition? 

    1. YES:  Go to  Step 6 .
    2. NO:  Repair or replace the harness wire.