LEMON Manuals: Even more car manuals for everyone: 1960-2025
Home >> Mitsubishi >> 2005 >> Lancer Evolution >> Repair and Diagnosis >> External Pages >> Different variant/trim >> Section 5 (Supplemental Restraints System -- Except Evolution) >> SRS Air Bag Diagnosis >> Diagnostic Trouble Code Procedures >> DTC 71: Side-Airbag Module (RH) (Squib) System Fault 1 (Short Circuit between Terminals of the Squib Circuit) >> Notes
April 5, 2026: LEMON Manuals is launched! Read the announcement.

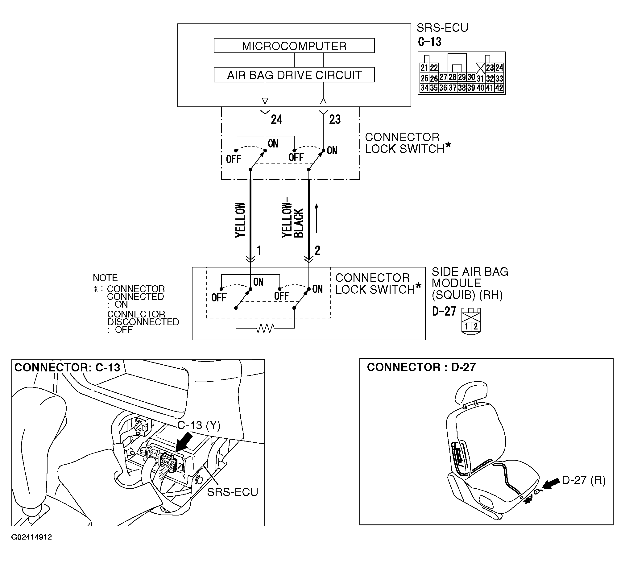
DTC 71: Side-Airbag Module (RH) (Squib) System Fault 1 (Short Circuit between Terminals of the Squib Circuit): Notes

WARNING: This page is about a different variant/trim than selected.
Fig 1: Side-Airbag Module (RH) (Squib) Circuit
G02414912Courtesy of MITSUBISHI MOTOR SALES OF AMERICA.